EasyManua.ls Logo

HP 1650B - Page 312

HP 1650B
346 pages
Print Icon
To Next Page IconTo Next Page
To Next Page IconTo Next Page
To Previous Page IconTo Previous Page
To Previous Page IconTo Previous Page
Loading...
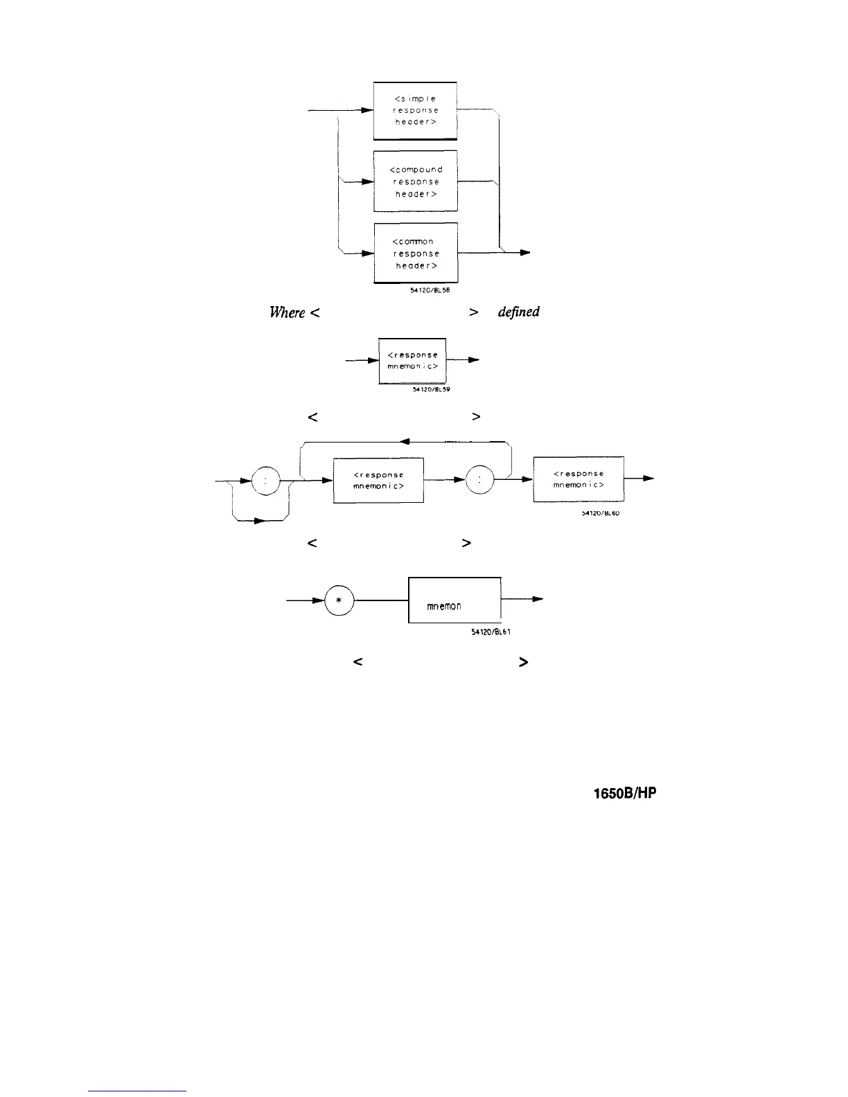
U%ere
c
simple response mnemonic
>
is defined as
where
c
compound response header > is defined as
where
c
common response header
>
is dejined as
HP 1650B/HP 16518
Programming Reference
<response
mnemcJn
i c>
I--
Figure A-21.
<
response message unit
>
Message Communication and System Functions
A-22

Table of Contents

Related product manuals