EasyManua.ls Logo

HP 49g+ - Page 68

HP 49g+
176 pages
Print Icon
To Next Page IconTo Next Page
To Next Page IconTo Next Page
To Previous Page IconTo Previous Page
To Previous Page IconTo Previous Page
Loading...
Page 3-15
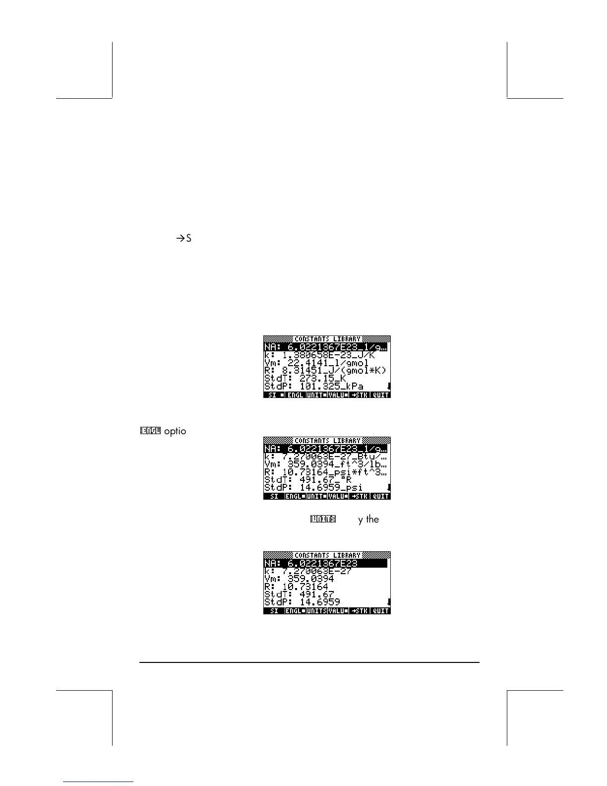
The soft menu keys corresponding to this CONSTANTS LIBRARY screen
include the following functions:
SI when selected, constants values are shown in SI units (*)
ENGL when selected, constants values are shown in English units (*)
UNIT when selected, constants are shown with units attached
VALUE when selected, constants are shown without units
STK copies value (with or without units) to the stack
QUIT exit constants library
(*) Activated only if the VALUE option is selected.
This is the way the top of the CONSTANTS LIBRARY screen looks when the
option VALUE is selected (units in the SI system):
To see the values of the constants in the English (or Imperial) system, press the
@ENGL
option:
If we de-select the UNITS option (press
@UNITS
) only the values are shown
(English units selected in this case):

Table of Contents

Related product manuals