EasyManua.ls Logo

Icom IC-208H - 9 Dtmf Memory Encoder; I Programming a DTMF Code

Icom IC-208H
96 pages
To Next Page IconTo Next Page
To Next Page IconTo Next Page
To Previous Page IconTo Previous Page
To Previous Page IconTo Previous Page
Loading...
48
9
DTMF MEMORY ENCODER
8
9
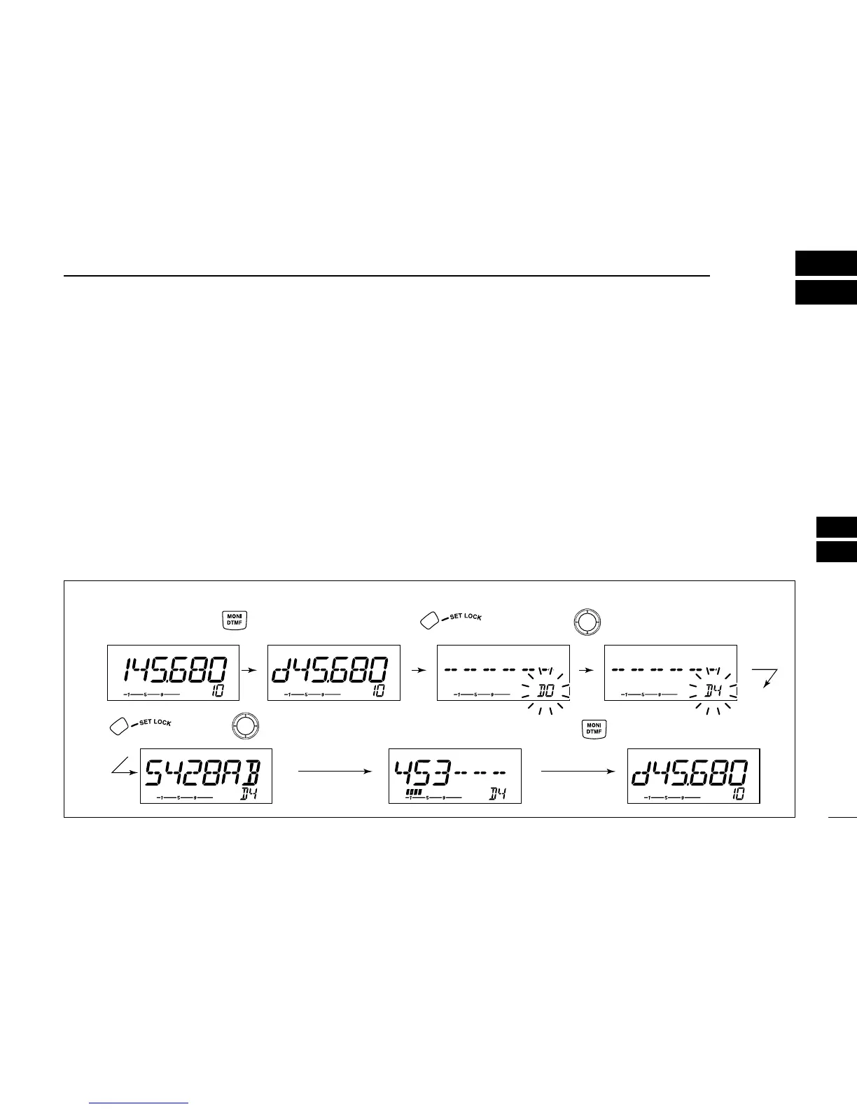
Programming a DTMF code
DTMF tones are used for autopatching, controlling other
equipment, etc. The transceiver has 16 DTMF memory chan-
nels (D0–DF) for storage of often-used DTMF codes of up to
24 digits.
q Push [MONI•DTMF] for 1 sec. to turn the DTMF encoder
ON.
“d” appears in place of 100 MHz digit.
w Push
[SET•LOCK]
to enter the DTMF memory program-
ming condition.
The DTMF memory channel indication blinks.
e Rotate [DIAL] to select the desired DTMF memory chan-
nel.
r Push
[SET•LOCK].
The first digit blinks.
t Rotate [DIAL] to select the desired code.
y Push
[SET•LOCK] to select the next digit.
Pushing [S.MW•MW] moves the cursor backward.
u Repeat the steps t and y to set the desired DTMF tone
sequence.
The S/RF indicator shows the digit group. The indication in-
creases every 6 digits.
i Push [MONI•DTMF]
to exit DTMF memory programming
condition.
Return to the previous indication as in step q.
[EXAMPLE]: Programming “5428AB453” into DTMF memory channel “D4.”
Push
Push then rotate
Repeat the previous step until
the desired code is entered.
Push
RotatePush for 1 sec.

Table of Contents

Other manuals for Icom IC-208H

Related product manuals