EasyManua.ls Logo

INFOSEC UPS SYSTEM E4 Evolution II + TT Series - 2-5. Software Installation

INFOSEC UPS SYSTEM E4 Evolution II + TT Series
185 pages
Print Icon
To Next Page IconTo Next Page
To Next Page IconTo Next Page
To Previous Page IconTo Previous Page
To Previous Page IconTo Previous Page
Loading...
76
INFOSEC UPS SYSTEM 15, rue du Moulin 44880 Sautron France www.infosec-ups.com
hotline : +33 (0)2 40 76 15 82 fax : +33(0)2 40 94 29 51 hotline@infosec.fr 07 19 AA 59 205 03
3) Connect all output breakers to a major output breaker. Then this major output breaker will directly
connect to the loads.
4) Either common battery packs or independent battery packs for each UPS are allowed.
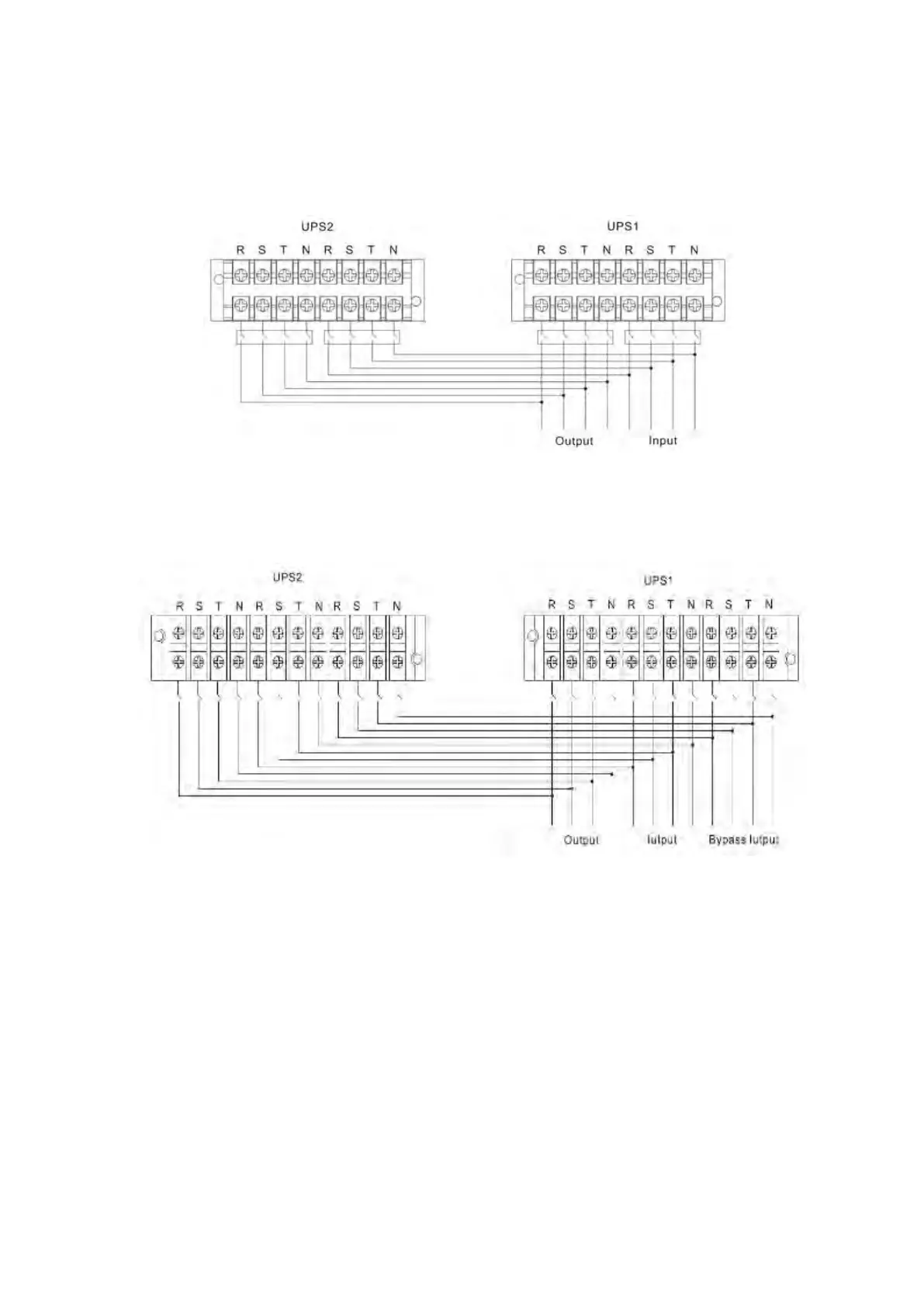
5) Refer to the following wiring diagram:
Wiring diagram of parallel system for E4 Evolution II + 10/15/20k TT HV (standard)
E4 Evolution II + 10k TT LV (standard)
Wiring diagram of parallel system for E4 Evolution II + 10/15/20k TT HV (optional dual
input)
E4 Evolution II + 10k TT LV (optional dual input)

Table of Contents

Related product manuals