EasyManua.ls Logo

Integra DTR-80.1 - Page 30

Integra DTR-80.1
172 pages
Print Icon
To Next Page IconTo Next Page
To Next Page IconTo Next Page
To Previous Page IconTo Previous Page
To Previous Page IconTo Previous Page
Loading...
30
Connecting the AV receiver—Continued
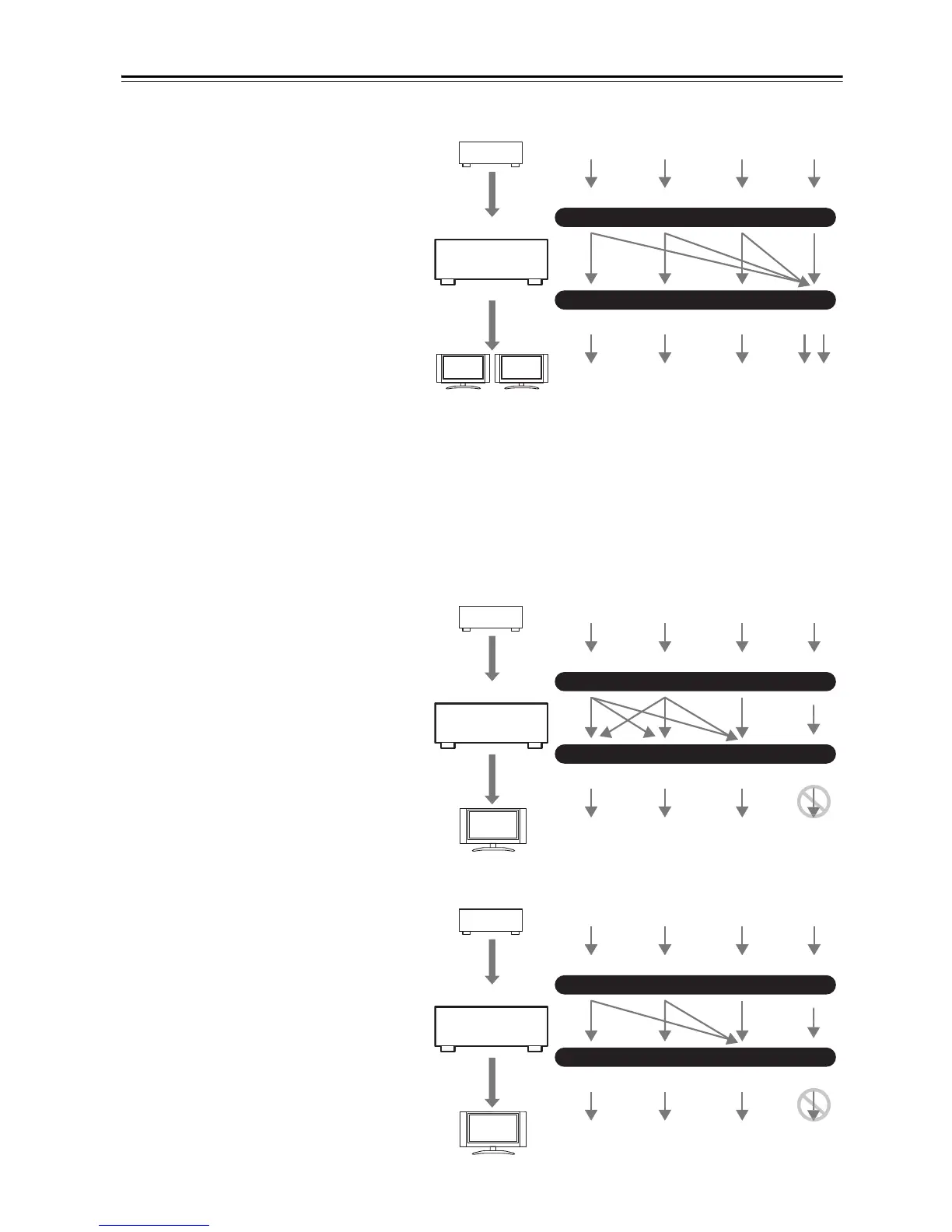
“Monitor Out” Setting Set to “Both”, “Both(Main)” or “Both(Sub)”
With the “Monitor Out” setting set to “Both”,
“Both(Main)” or “Both(Sub)” (see page 49),
video input signals flow through the AV receiver
as shown, with composite video, S-Video, and
component video sources all being upconverted
for both HDMI outputs. Use the “Both”,
“Both(Main)” or “Both(Sub)” setting if you
connect the AV receiver’s HDMI OUT MAIN
and HDMI OUT SUB to your TVs.
The composite video, S-Video, and component
video outputs pass through their respective input
signals as they are.
Both: Video signals are output from both HDMI
outputs at the resolution supported by both TVs.
You cannot select “Resolution” setting. The pic-
ture adjust setting will be that for “HDMI Main”.
Both (Main): Video signals are output from both
HDMI outputs but HDMI OUT MAIN will become a priority; depending on the resolution, video signals may not be
output from HDMI OUT SUB.
Both (Sub): Video signals are output from both HDMI outputs but HDMI OUT SUB will become a priority; depending
on the resolution, video signals may not be output from HDMI OUT MAIN.
Note:
The “Monitor Out” setting will be automatically switched to “Analog” (see page 49) if not connected to both outputs
when “Both” is selected or if not connected to a priority output when “Both(Main)” or “Both(Sub)” is selected.
“Monitor Out” Setting Set to “Analog”
With the “Monitor Out” setting set to “Analog”
(see page 49), video input signals flow through
the AV receiver as shown, with composite video
and S-Video sources being upconverted for the
component video output. Use this setting if you
connect the AV receiver’s COMPONENT
VIDEO MONITOR OUT to your TV.
Composite video is upconverted to S-Video and
S-Video is downconverted to composite video.
Note that these conversions only apply to the
MONITOR OUT V and S outputs, not the
VCR/DVR OUT V and S outputs.
The composite video, S-Video, and component
video outputs pass through their respective input
signals as they are.
This signal flow also applies when the “Resolu-
tion” setting is set to “Through” (see page 49).
Video Signal Flow and the Resolution Setting
When the “Monitor Out” setting is set to “Ana-
log” (see page 49), if the “Resolution” setting is
set to anything other than “Through” (see
page 49), the video signal flow will be as shown
here, with composite video and S-Video sources
being upconverted for the component video out-
put.
The composite video, S-Video, and component
video outputs pass through their respective ana-
log input signals as they are. HDMI input signals
are not output.
IN
MONITOR OUT
DVD/BD player, etc.
AV receiver
TV, projector, etc.
Composite
Composite
S-Video
S-Video
Component
Component
Video Signal Flow Chart
HDMI
HDMI
IN
MONITOR OUT
DVD/BD player, etc.
AV receiver
TV, projector, etc.
Composite
Composite
S-Video
S-Video
Component
Component
Video Signal Flow Chart
HDMI
HDMI
IN
MONITOR OUT
DVD/BD player, etc.
AV receiver
TV, projector, etc.
Composite
Composite
S-Video
S-Video
Component
Component
Video Signal Flow Chart
HDMI
HDMI

Table of Contents

Related product manuals