EasyManua.ls Logo

iPA ALPHA MUTT - Right-Side Panel

iPA ALPHA MUTT
99 pages
Print Icon
To Next Page IconTo Next Page
To Next Page IconTo Next Page
To Previous Page IconTo Previous Page
To Previous Page IconTo Previous Page
Loading...
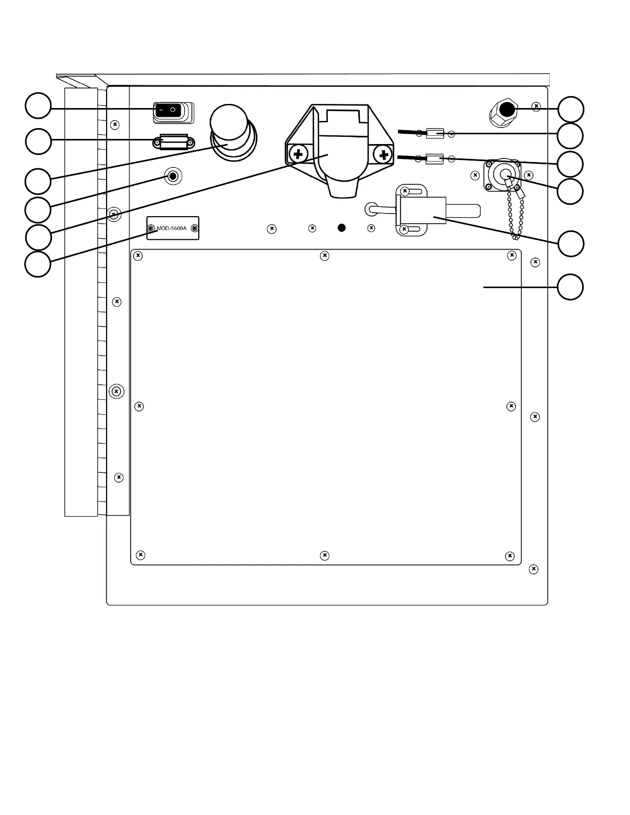
5.3 Right-Side Panel
A
B
C
E
F
G
H
I
J
K
L
D

Related product manuals