EasyManua.ls Logo

JBL Cinema 300 - Wiring Diagrams for 5000 Series Screen Systems

JBL Cinema 300
46 pages
Print Icon
To Next Page IconTo Next Page
To Next Page IconTo Next Page
To Previous Page IconTo Previous Page
To Previous Page IconTo Previous Page
Loading...
25
D. Wiring Diagrams for 5000 Series Screen Systems:
The three models in the 5000-Series are always triamplied. Models 5671 and 5672 all use three power
amplier sections, while the 5674, due to the quadruple set of LF units, makes use of four amplier sections. All
aspects of frequency division, time correction, power response equalization, and room equalization are carried out
by the JBL model DSC260A digital controller. Pertinent wiring diagrams are shown in Figure 35A and B.
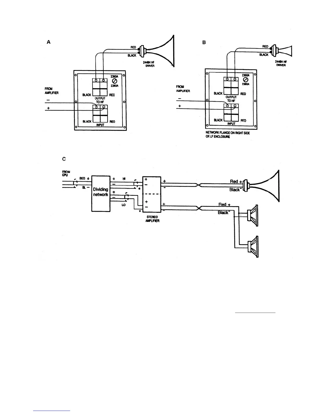
Figure 34: Wiring diagram for 4000 Series. Passive network operation of 4675C (A) and 4670D (B); biamped operation of 4675C (C).

Table of Contents

Other manuals for JBL Cinema 300

Related product manuals