EasyManua.ls Logo

JBL Cinema 300 - Page 4

JBL Cinema 300
46 pages
Print Icon
To Next Page IconTo Next Page
To Next Page IconTo Next Page
To Previous Page IconTo Previous Page
To Previous Page IconTo Previous Page
Loading...
4
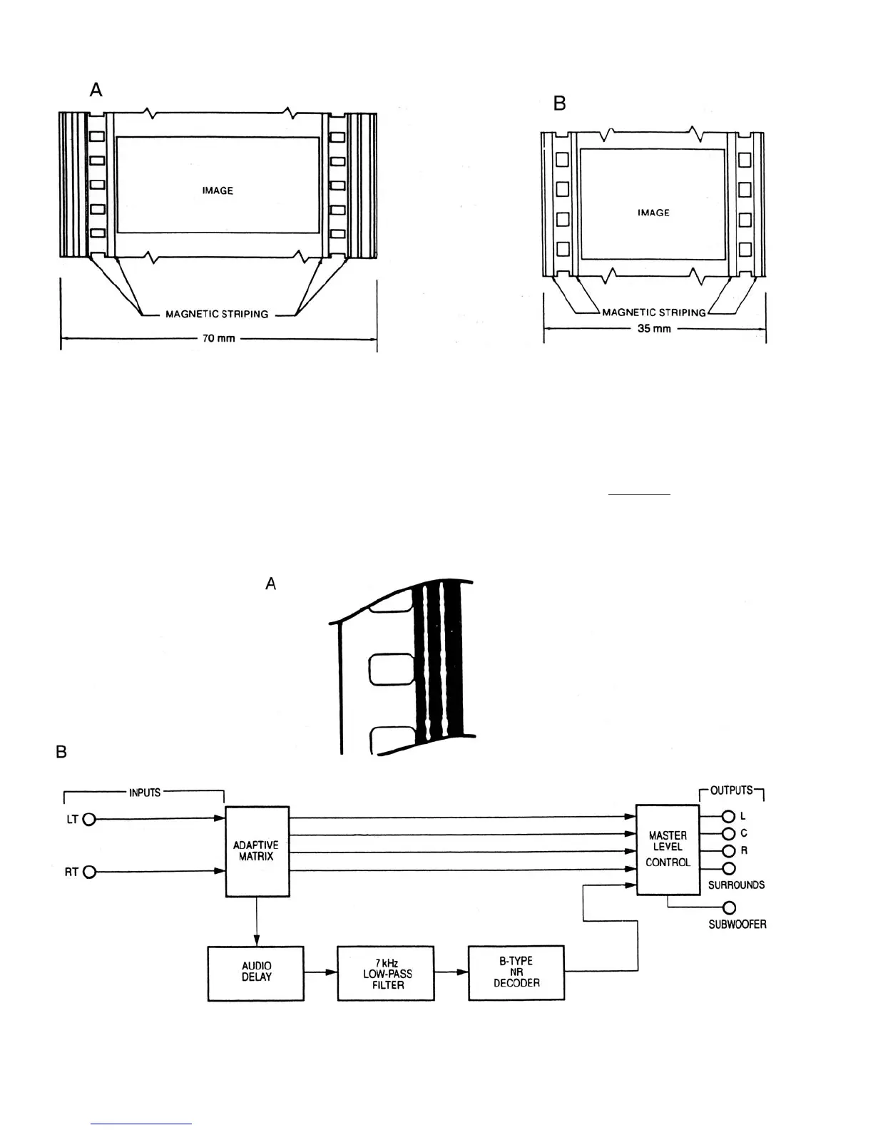
intended primarily for the left and right screen loudspeakers are fed to the left and right channels. Program
material intended for the center screen loudspeaker, including most on-screen dialog, is fed to both stereo
channels in phase. The in-phase relationship between the stereo channels triggers the playback matrix to steer
that information primarily to the center screen loudspeaker, through a combination of gain control and altering of
separation coefcients within the matrix. In a similar manner, information intended for the surround channels is fed
to both stereo channels so that there is a 180° phase relationship between them. This phase relationship triggers
the playback matrix to steer that information primarily to the surround loudspeaker array. Figure 2B shows details
of the playback matrix used for the Dolby Stereo Optical format.
Figure 1: Magnetic lm formats. 70-mm (A); 35-mm (B)
Figure 2: Dolby Stereo Optical format. 35-mm Dolby SR format (A); playback matrix (B)

Table of Contents

Other manuals for JBL Cinema 300

Related product manuals