EasyManua.ls Logo

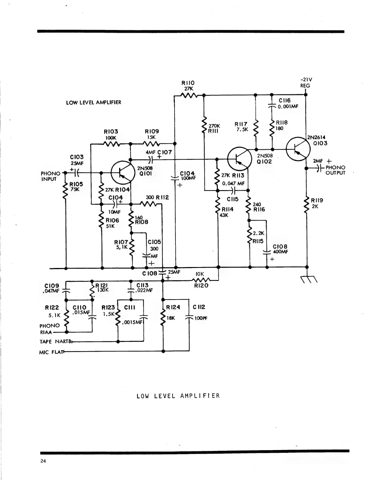
JBL SG520 - Low Level Amplifier

JBL SG520
34 pages
Print Icon
To Next Page IconTo Next Page
To Next Page IconTo Next Page
To Previous Page IconTo Previous Page
To Previous Page IconTo Previous Page
Loading...
24
LOW
LEVEL
AMPLIFIER
Cclo3
25MF
RIO
27K
LOW
LEVEL
AMPLIFIER
|2N2614
de
0103
KS
ea
}-
PHONO
OUTPUT
RII9
2K

Related product manuals