EasyManua.ls Logo

Jet JDP-20VS-3 - Table and Base Assembly (All Models) - Exploded View

Jet JDP-20VS-3
32 pages
Print Icon
To Next Page IconTo Next Page
To Next Page IconTo Next Page
To Previous Page IconTo Previous Page
To Previous Page IconTo Previous Page
Loading...
25
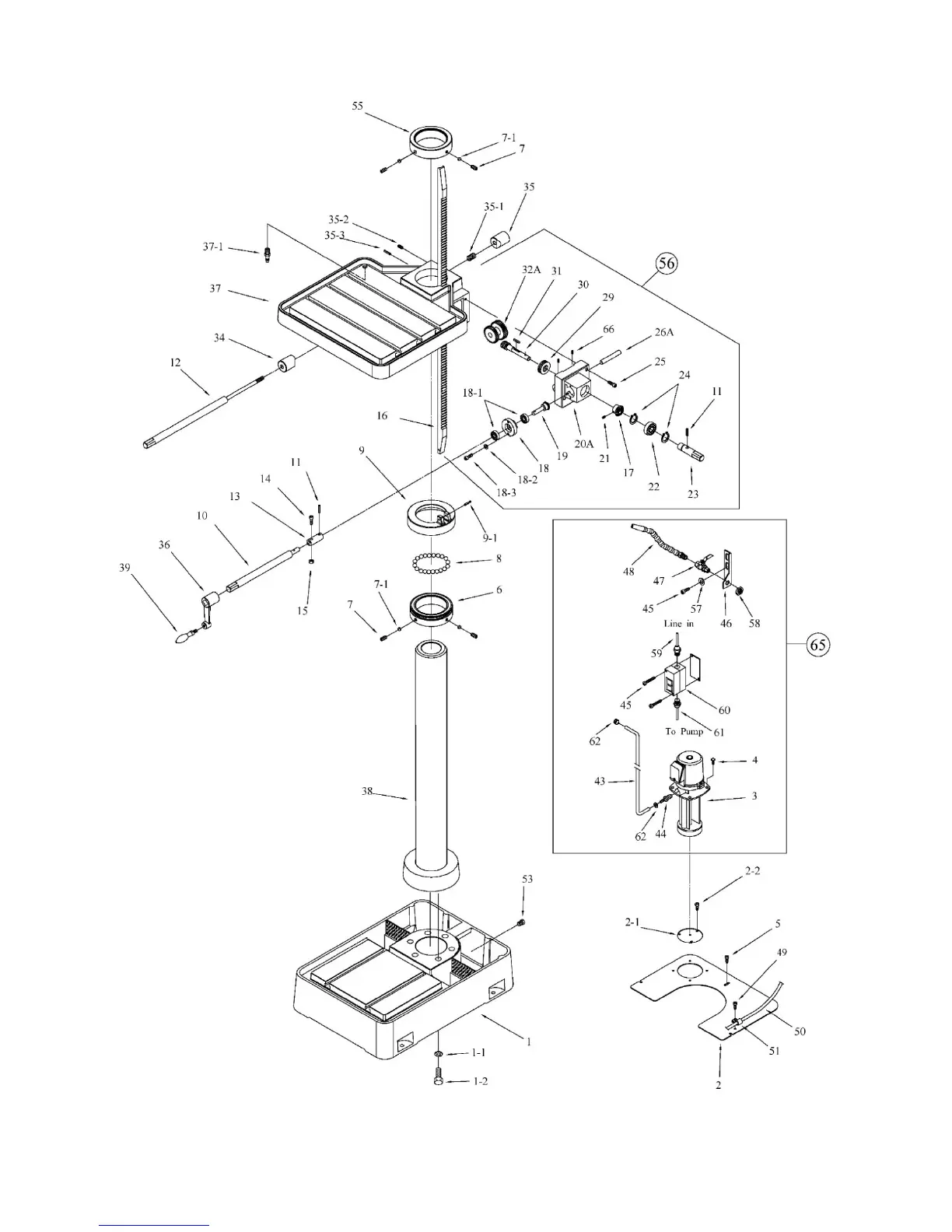
13.5.1 Table and Base Assembly (All Models) – Exploded View

Table of Contents

Related product manuals