EasyManua.ls Logo

JVC GR-DVX7 - Audio Dubbing

JVC GR-DVX7
112 pages
Print Icon
To Next Page IconTo Next Page
To Next Page IconTo Next Page
To Previous Page IconTo Previous Page
To Previous Page IconTo Previous Page
Loading...
90 EN
P
L
A
Y
/
P
C
O
F
F
C
A
M
E
R
A
5
S
D
S
C
D
S
C
P
L
A
Y
TW
USING THE REMOTE CONTROL UNIT
(cont.)
Audio Dubbing
The audio track can be customized only when recorded
on the 32 kHz mode (Z pg. 39).
NOTES:
Audio Dubbing is not possible on a tape recorded at
48 kHz, on a tape recorded in the LP mode or on a
blank portion of a tape.
To perform Audio Dubbing while watching in the
television, make connections (
Z
pg. 70).
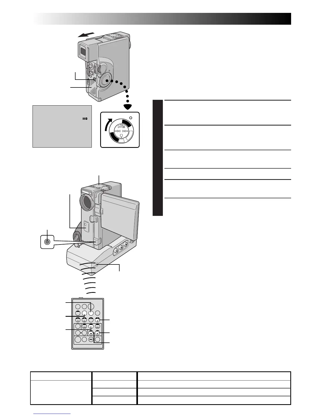
1
FIND EDIT-IN POINT
Play back the tape to locate the point where editing
will start, then press PAUSE (6).
2
ENGAGE AUDIO DUB STANDBY
While holding A.DUB (e) on the remote control,
press PAUSE (6). “6e” appears.
3
BEGIN DUBBING
Press PLAY (
4
) , then begin “narrating”.
Speak into the microphone.
4
PAUSE DURING DUBBING
Press PAUSE (6).
5
STOP DUBBING
Press STOP (5).
NOTES:
Audio dubbing is also possible using an optional
microphone.
While an optional microphone is connected, the built-in
microphone is disabled.
When editing onto a tape that was recorded at 32 kHz,
the old and new soundtracks are recorded separately.
To select the desired sound for playback, press AUDIO
MONITOR on the remote control.
If you dub onto a blank space on the tape, the sound may
be disrupted. Make sure you only edit recorded areas.
If feedback or howling occurs during TV Playback, move
the camcorders microphone away from the TV, or turn
down the TV’s volume.
Sound is not heard from the speaker during Audio
Dubbing. To hear sound, connect optional headphones
to the AV OUT (headphones) connector.
If you change from 32 kHz to 48 kHz in mid-recording
and then use the tape for Audio Dubbing, it is not
effective from the point where 48 kHz recording began.
During Audio Dubbing, when the tape moves to scenes
recorded in the LP mode, scenes recorded at 48 kHz or
a blank portion, Audio Dubbing stops and “ERROR!
REFER MANUAL” appears.
AV OUT
(headphones)
connector
Speaker
DISPLAY
Stereo microphone
RM-V713U
(provided)
STOP
PAUSE
Recording sound Display Output sound
FULL SOUND Original and new tracks are combined and output in stereo.
32 kHz SOUND 2 New track is output on both “L” and “R” channels in stereo.
SOUND 1 Original track is output on both “L” and “R” channels in stereo.
Audio Dub Standby mode Power Switch
Remote sensor
External
microphone
input connector
A.DUB
AUDIO
MONITOR
PLAY
Lock Button
Display
Located
beneath
the cover.

Table of Contents

Related product manuals