EasyManua.ls Logo

JVC HX-Z1 - Program Play

JVC HX-Z1
54 pages
Print Icon
To Next Page IconTo Next Page
To Next Page IconTo Next Page
To Previous Page IconTo Previous Page
To Previous Page IconTo Previous Page
Loading...
HX-Z1
18
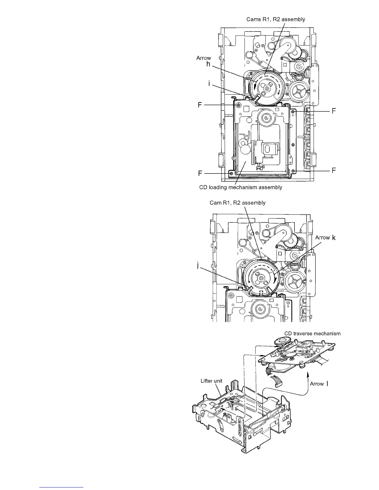
3.1.3 Removing the CD loading mechanism assembly
(See Fig.10)
(1) While turning the cams R1 and R2 assembly in the arrow
direction h ,align the shaft i of the CD loading mechanism
assembly to the position shown in Fig.10.
(2) Remove the four screws F retaining the CD loading mech-
anism assembly.
3.1.4 Removing the CD traverse mechanism
(See Fig.11 and 12)
(1) For dismounting only the CD traverse mechanism without
removing the CD loading mechanism assembly, align the
shaft j of the CD loading mechanism assembly to the po-
sition shown Fig.11 while turning the cam R1 and R2 as-
sembly in the arrow direction k .
(2) By raising the CD loading mechanism assembly in the ar-
row direction l , remove the assembly from the lifter unit
(See Fig.12).
Fig.10
Fig.11
Fig.12

Table of Contents

Other manuals for JVC HX-Z1

Related product manuals