EasyManua.ls Logo

Kold-Draft GT564AC - GB106 XR Wiring Diagram

Default Icon
85 pages
Print Icon
To Next Page IconTo Next Page
To Next Page IconTo Next Page
To Previous Page IconTo Previous Page
To Previous Page IconTo Previous Page
Loading...
32
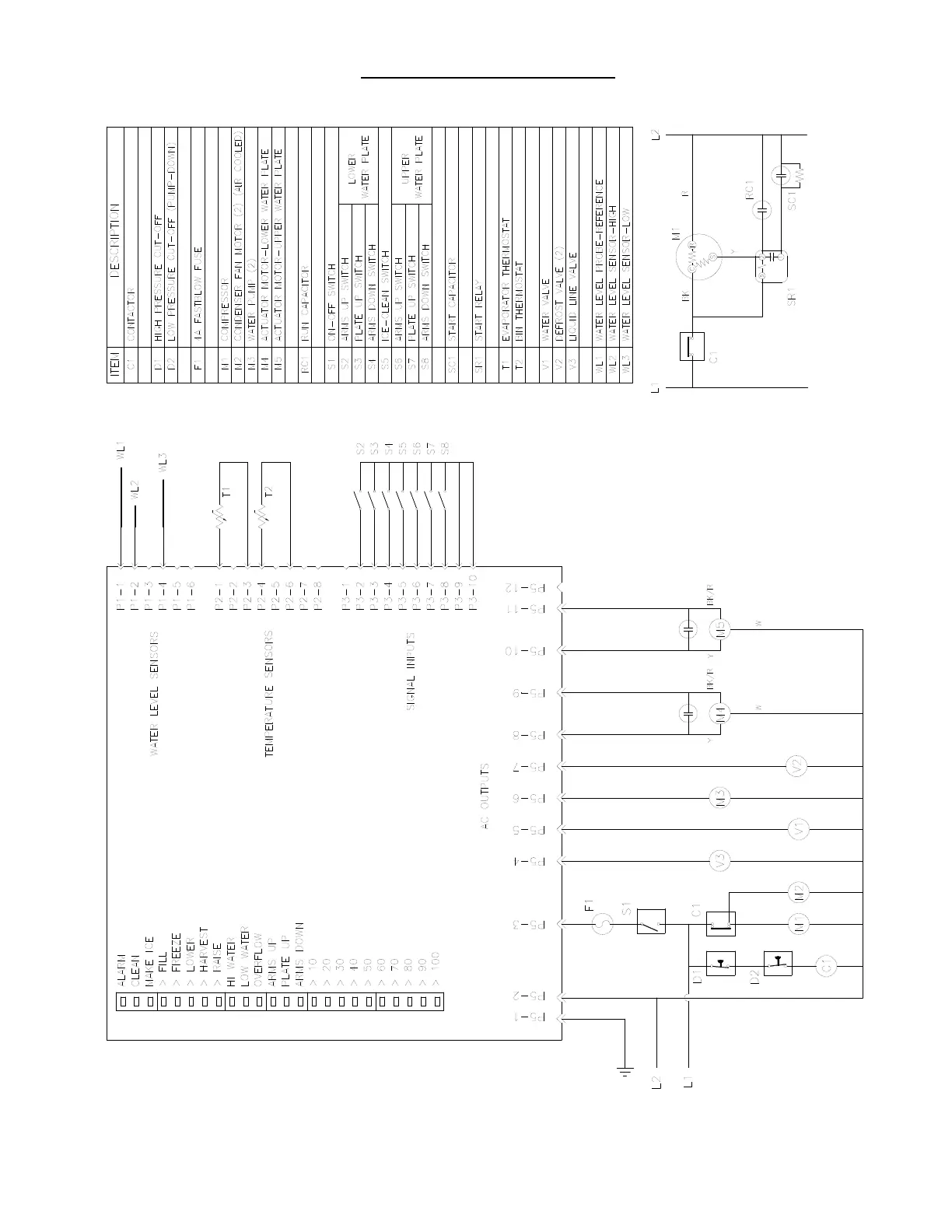
GB106XR WIRING DIAGRAM

Table of Contents

Related product manuals