EasyManua.ls Logo

Lenovo 20L5 - Page 63

Lenovo 20L5
114 pages
Print Icon
To Next Page IconTo Next Page
To Next Page IconTo Next Page
To Previous Page IconTo Previous Page
To Previous Page IconTo Previous Page
Loading...
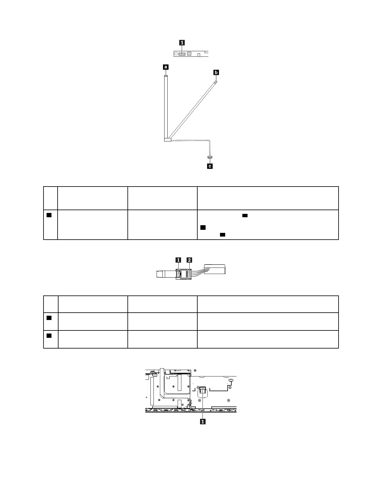
Table 10. Camera/microphone combo card
It-
e-
m
Connector (location) Internal cable required Cable connection
1
Camera/microphone card
connector (internal)
Camera/LED cable Connect the end c of the cable to the camera/LED
connector on the system board, and connect the end
b of the cable to the LCD rear cover. Then, connect
the end
a of the cable to this connector.
NFC module and cable
Table 11. NFC module
It-
em
Connector (location) Internal cable required Cable connection
1
NFC module connector
(internal)
NFC module cable Connect one end to the NFC module connector on the
system board and the other end to this connector.
2
NFC antenna connector
(internal)
NFC antenna cable Connect the NFC antenna cable to this connector.
TrackPad connector and cable
Chapter 7. Locations 57

Table of Contents

Related product manuals