EasyManua.ls Logo

Lenovo 20L5 - Page 97

Lenovo 20L5
114 pages
Print Icon
To Next Page IconTo Next Page
To Next Page IconTo Next Page
To Previous Page IconTo Previous Page
To Previous Page IconTo Previous Page
Loading...
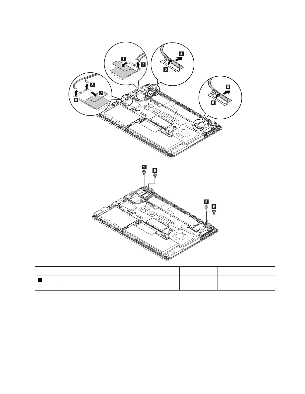
Removal steps of the LCD unit
Step Screw (quantity) Color
Torque
9
M2.5 × 4 mm, flat-head, nylon-coated (4)
Black 0.293 Nm
(3.0 kgf-cm)
Chapter 9. Removing or replacing a FRU 91

Table of Contents