EasyManua.ls Logo

Lenze 4800 - Page 313

Lenze 4800
342 pages
Print Icon
To Next Page IconTo Next Page
To Next Page IconTo Next Page
To Previous Page IconTo Previous Page
To Previous Page IconTo Previous Page
Loading...
Selection aid
15-21
48XX/49XXSHB0399
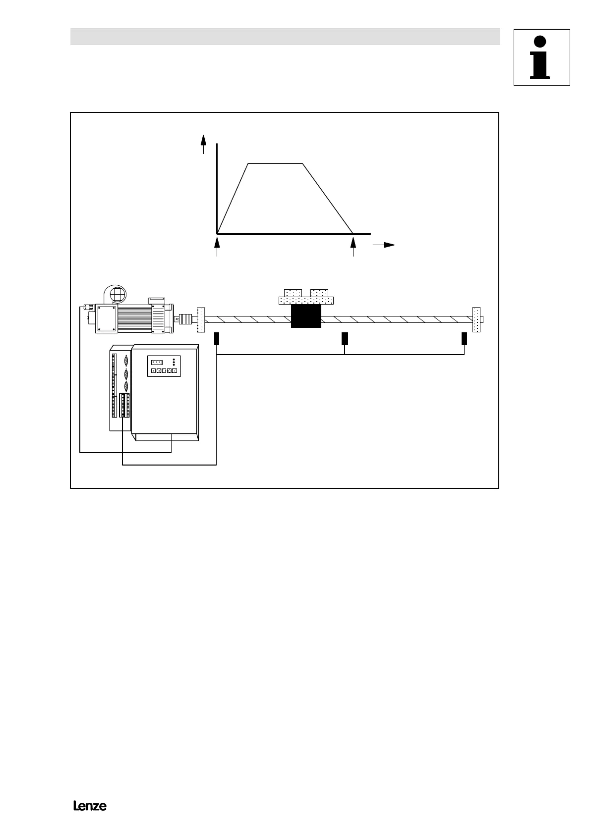
4900Str108
v
t
L
4900
Lim it sw itchLim it sw itch R eference sw itch
TargetStart
v
pos
Acceleration Deceleration
FIG 15-10 Drive system 48XX/49XX as positioning application
The following features are integrated into the positioning drive:
( 32 freely assignable digital input
of which, depending on the variant, 8 or 28 assignable via terminals
( 32 freely assignable digital outputs
of which, depending on the variant, 4 or 16 assignable via terminals
( Measuring system absolute or relative (endless incremental dimension)
( 32 program sets, each with the following functions:
- Point-to-point positioning
- Point-to-point positioning with changeover of velocity
- Positioning with interrupt input
- Acceleration, delay, travelling and final speed adjustable
- Waiting for input
- Switching of several outputs
- Homingaccordingto6differentmodes
Show/Hide Bookmarks

Table of Contents

Related product manuals