EasyManua.ls Logo

Lifetime 51544 - Page 32

Lifetime 51544
52 pages
Print Icon
To Next Page IconTo Next Page
To Next Page IconTo Next Page
To Previous Page IconTo Previous Page
To Previous Page IconTo Previous Page
Loading...
32
TOOLS AND HARDWARE REQUIRED FOR THIS PAGE
3/4” (x2)
AAX (x1)
ABL (x2)
6 5/8”
(Not actual length)
!$' (x1)
SEC
4.3
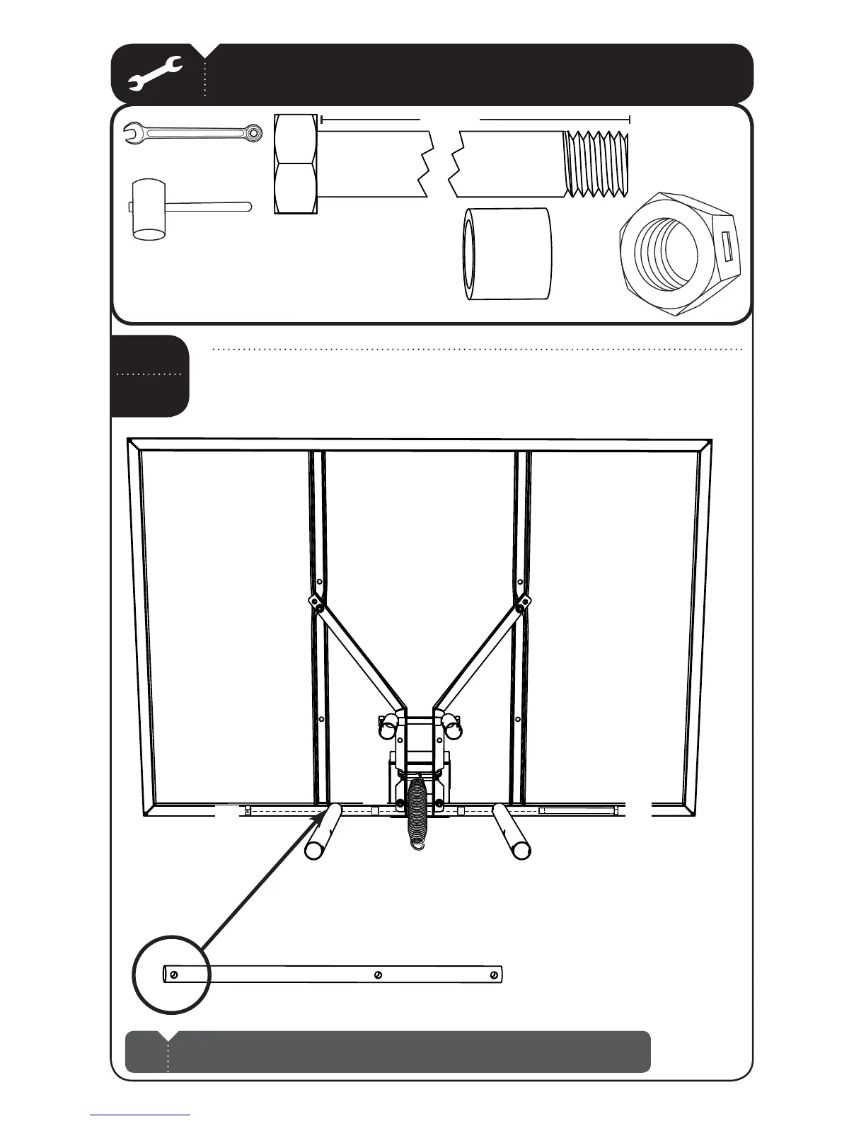
Secure the Long Extension Arms (AKB) to the Backboard Brackets in the
location shown with the hardware indicated.
Note: Tighten the 1/2” Centerlock Nut (AAX) until it is fl ush with the end of the Bolt.
!
AAX
ABL
ABL
!$'
AKB AKB
AKB

Related product manuals