EasyManua.ls Logo

LS tractor LB1300 - IMBH10. SUB FRAME GROUP

LS tractor LB1300
90 pages
Print Icon
To Next Page IconTo Next Page
To Next Page IconTo Next Page
To Previous Page IconTo Previous Page
To Previous Page IconTo Previous Page
Loading...
41
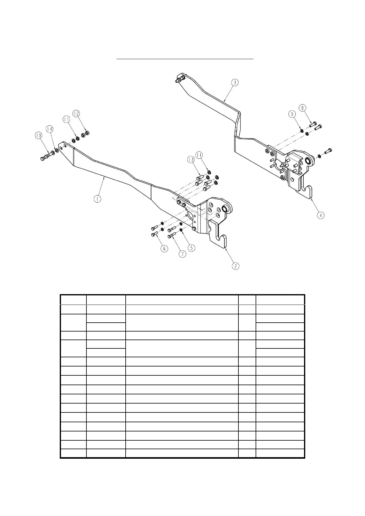
IMBH10. SUB FRAME GROUP
No.
LS PART NO.
DESCRIPTION
QTY
REMARKS
1-14
-
FRAME ASSEMBLY
1
1
40426815
REAR PLATE CP. LH-ASL
1
40437902
BH70CC0280~
2
40428210
FRAME LH CP-LH
1
3
40426817
REAR PLATE CP. RH-ASL
1
40437901
BH70CC0280~
4
40428211
FRAME CP-RH
1
5
40160234
SPRING WASHER, M12
8
6
40160716
BOLT(10.9T), M12x40L
4
7
40432612
BOLT(10.9T), M12x55L
4
8
40160717
BOLT(10.9T), M12x45L
6
9
40160235
SPRING WASHER, M14
6
10
40427410
BOLT(10.9T), M16x50L
4
11
40427411
SPRING WASHER, M16
12
12
40427412
NUT, M16
4
13
40429104
BOLT(10.9T), M16x40L
8
14
40381864
PLAIN WASHER, M16
4
BH70CC0280~