EasyManua.ls Logo

LS tractor LB1300 - IMBH71. DIPPERSTICK CYLINDER GROUP

LS tractor LB1300
90 pages
Print Icon
To Next Page IconTo Next Page
To Next Page IconTo Next Page
To Previous Page IconTo Previous Page
To Previous Page IconTo Previous Page
Loading...
55
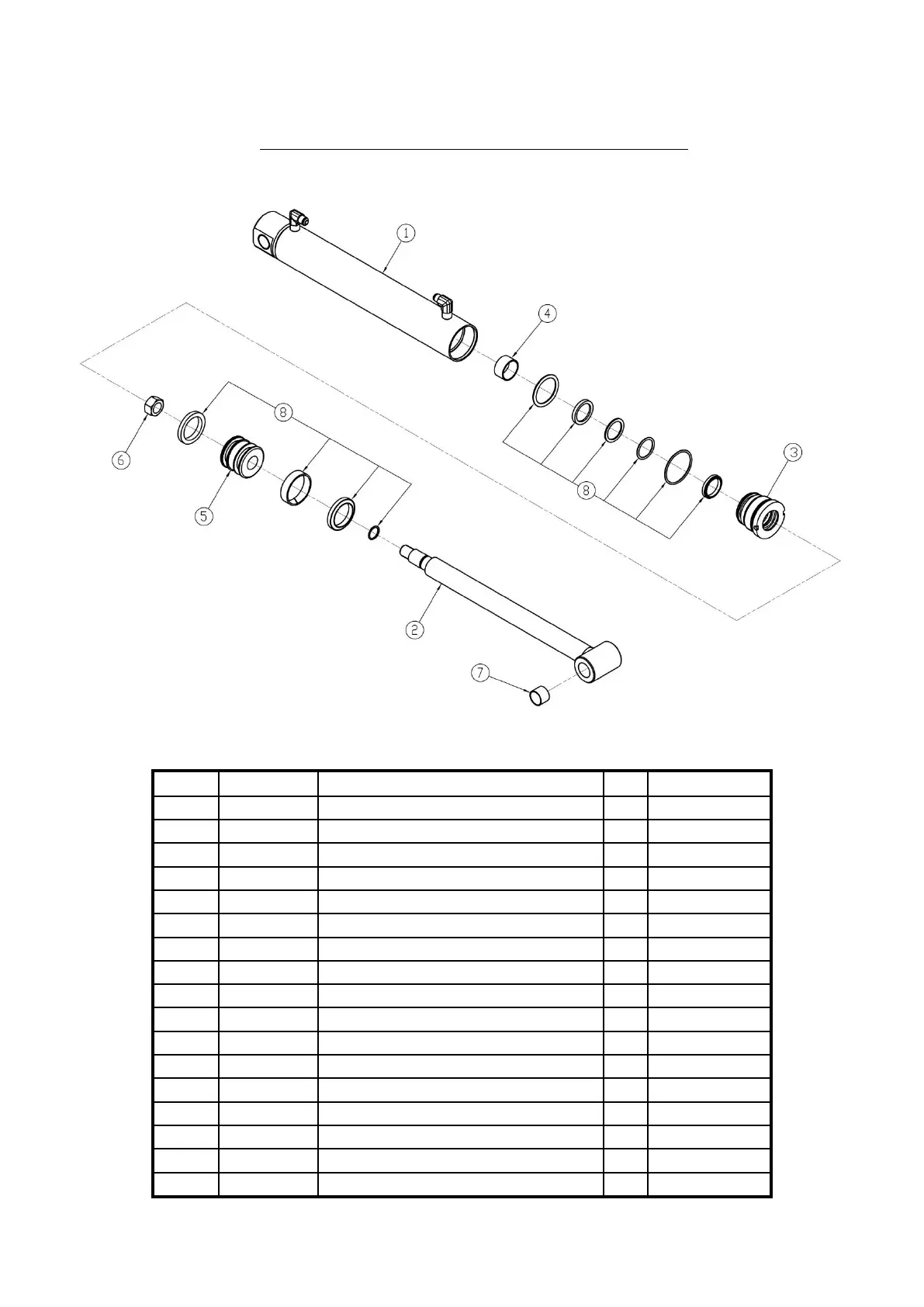
IMBH70. BUCKET CYLINDER GROUP
No.
LS PART NO.
DESCRIPTION
QTY
REMARKS
1-8
40427949
BUCKET CYLINDER
1
1
40427950
TUBE ASSY
1
2
40427951
ROD ASSY
1
3
40393857
CAP, Ø60xØ35
1
4
40393864
DU BUSH, Ø35xØ39x20L
1
5
40427487
PISTON, Ø60xØ35
1
6
40381805
NUT, Ø20x1.5
1
7
40427906
DU BUSH, Ø25xØ28x20L
4
8
40432001
SEAL KIT
1