EasyManua.ls Logo

Martel 3001 - 5 Isolated Inputs; Voltage Input; Current Input

Martel 3001
90 pages
Print Icon
To Next Page IconTo Next Page
To Next Page IconTo Next Page
To Previous Page IconTo Previous Page
To Previous Page IconTo Previous Page
Loading...
5. Isolated Inputs
5.1 Voltage Input
The 3001 can measure DC voltages from 0 V to 100 V, using the following two ranges for
maximum accuracy: 10 V, and 100 V.
a) Disconnect any test leads from external devices.
b) Press the key to select isolated DC voltage and current input mode, if not
already selected. If the desired DC voltage mode is not displayed, press the key
again to cycle to the desired DC voltage mode.
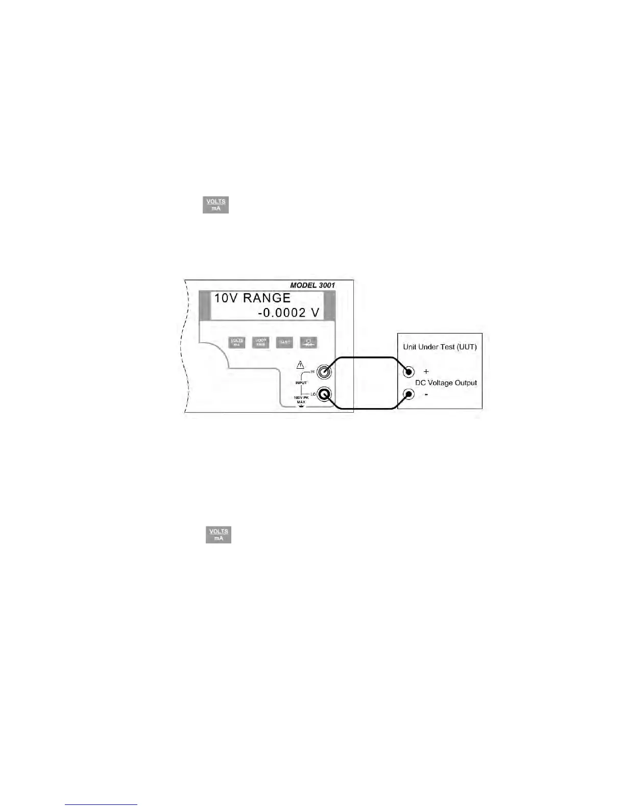
c) Connect the unit under test to the isolated voltage/current input terminals of the 3001
as shown in figure 17.
Figure 17 - Isolated DC Voltage Input Connection
5.2 Current Input
The 3001 can measure DC current from 0 mA to 50 mA.
a) Disconnect any test leads from external devices.
b) Press the key to select isolated DC voltage and current input mode, if not
already selected. If the DC current mode is not displayed, press the key again to
cycle to it.
c) Connect the unit under test to the isolated voltage/current input terminals of the 3001
as shown in figure 18.
25
www.GlobalTestSupply.com
Find Quality Products Online at: sales@GlobalTestSupply.com

Table of Contents

Related product manuals