EasyManua.ls Logo

Masimo Rad-5v - Chapter 1: Technology Overview; Signal Extraction Technology (SET)

Masimo Rad-5v
70 pages
Print Icon
To Next Page IconTo Next Page
To Next Page IconTo Next Page
To Previous Page IconTo Previous Page
To Previous Page IconTo Previous Page
Loading...
www.masimo.com 15 Masimo
Chapter 1: Technology Overview
The following chapter contains general descriptions about parameters, measurements, and
the technology used by Masimo products.
Signal Extraction Technology
®
(SET
®
)
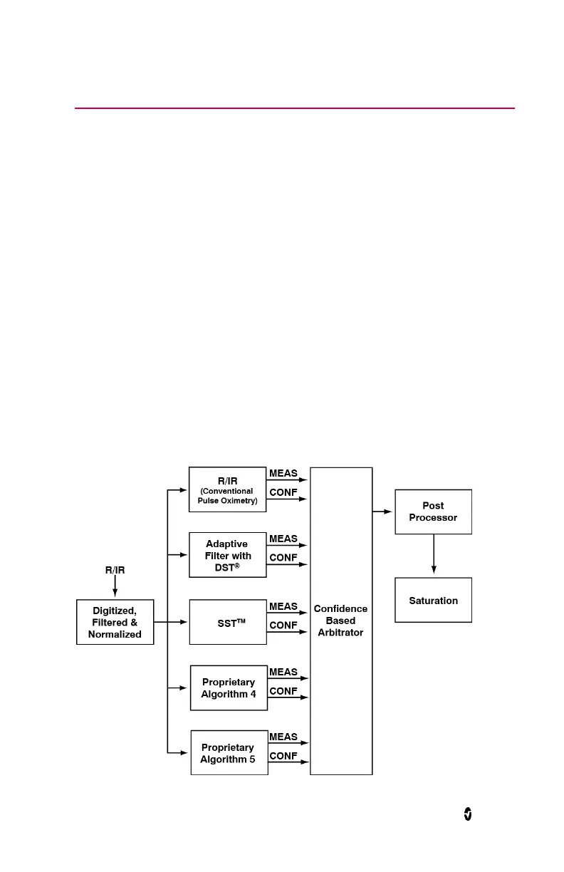
Masimo Signal Extraction Technology's signal processing differs from that of conventional
pulse oximeters. Conventional pulse oximeters assume that arterial blood is the only blood
moving (pulsating) in the measurement site. During patient motion, however, the venous
blood also moves, causing conventional pulse oximeters to read low values, because they
cannot distinguish between the arterial and venous blood movement (sometimes referred to
as noise).
Masimo SET
®
pulse oximetry utilizes parallel engines and adaptive filtering. Adaptive filters
are powerful because they are able to adapt to the varying physiologic signals and/or noise
and separate them by looking at the whole signal and breaking it down to its fundamental
components. The Masimo SET
®
signal processing algorithm, Discrete Saturation Transform
®
(DST
®
), in parallel with Fast Saturation Transform (FST
®
), reliably identifies the noise,
isolates it and, using adaptive filters, cancels it. It then reports the true arterial oxygen
saturation for display on the monitor.
Masimo SET
®
Parallel Engines
This figure is for conceptual purposes only.

Related product manuals