EasyManua.ls Logo

Masimo Root RDS7A - Page 92

Masimo Root RDS7A
110 pages
Print Icon
To Next Page IconTo Next Page
To Next Page IconTo Next Page
To Previous Page IconTo Previous Page
To Previous Page IconTo Previous Page
Loading...
Root Chapter 10- Specifications
www.masimo.com 90
Masimo
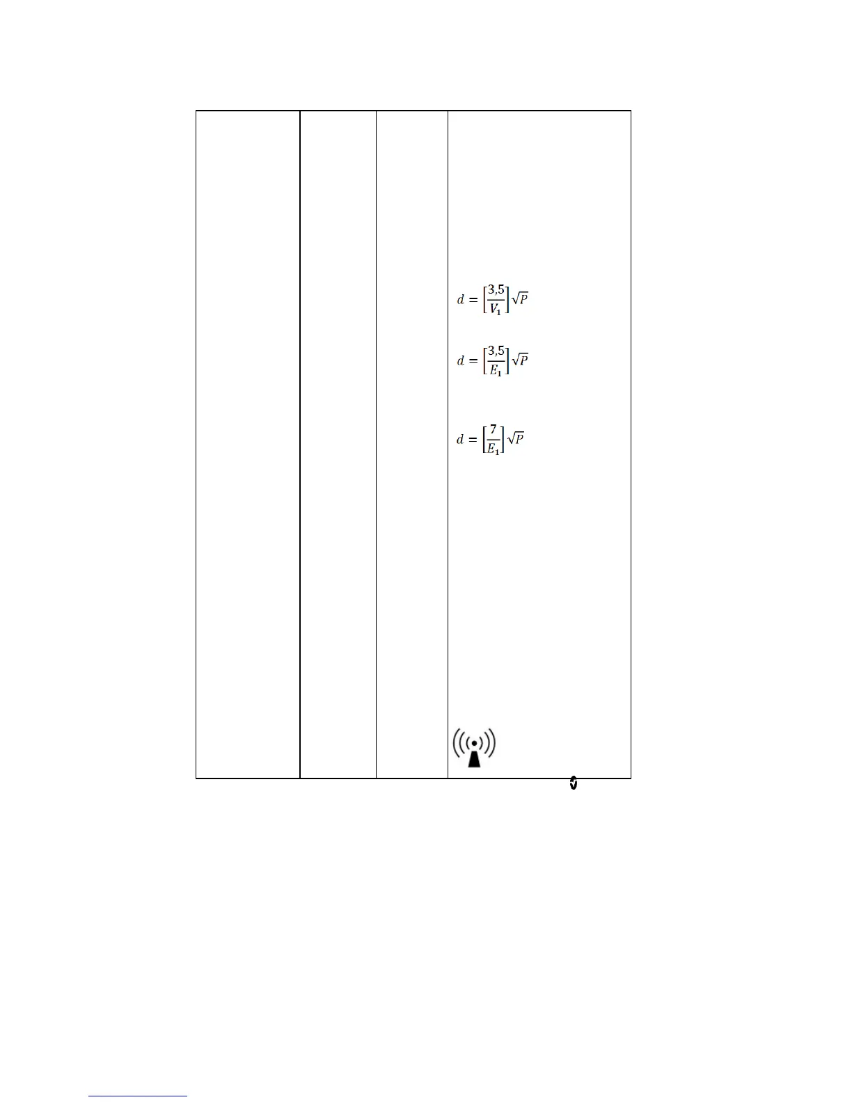
Radiated RF
IEC 61000-4-3
3 V/m
80 MHz to
2.5 GHz
3 V/m Portable and mobile RF
communications equipment
should be used no closer to any
part of the ME Equipment,
including cables, than the
recommended separation distance
calculated from the equation
applicable to the frequency of the
transmitter.
Recommended separation distance
80 MHz to 800
MHz
800 MHz to 2,5
GHz
where P is the maximum output
power rating of the transmitter in
watts (W) according to the
transmitter manufacturer and d is
the recommended separation
distance in meters (m).
Field strengths from fixed RF
transmitters, as determined by an
electromagnetic site survey,
should be less than the
compliance level in each
frequency range
b
.
Interference may occur in the
vicinity of equipment marked with
the following symbol:

Table of Contents

Related product manuals