EasyManua.ls Logo

MAXA R407C - Page 64

MAXA R407C
70 pages
Print Icon
To Next Page IconTo Next Page
To Next Page IconTo Next Page
To Previous Page IconTo Previous Page
To Previous Page IconTo Previous Page
Loading...
CD 30 ÷ 520
64
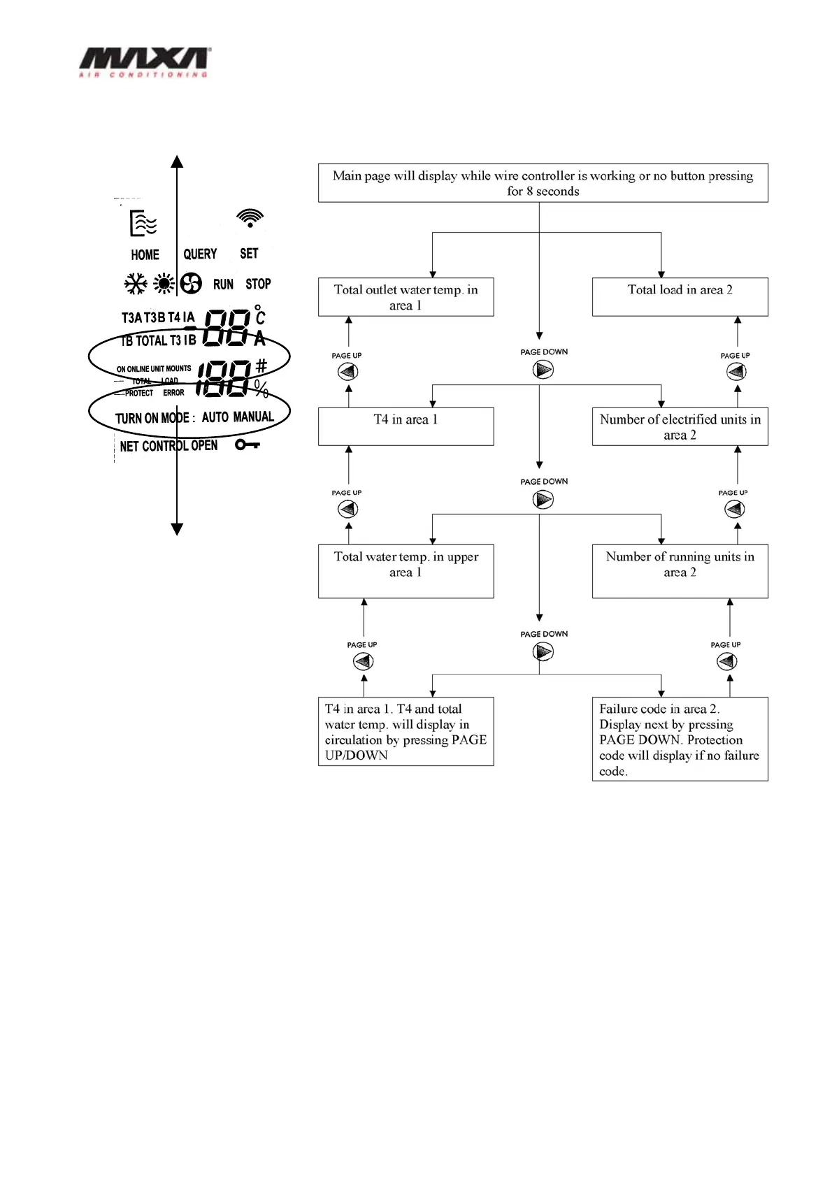
5——Query page display
Query pages consist of definite numbers of pages.
1) 0# unit is selected as default when entering Query page at the first time, then page 1 will be
displayed. Other pages could be achieved by pressing page up/down.
2) Following information are shown in the upper area from page 1 to 5 respectively: plate heat
exchanger outlet water Temp. , system A condenser tube Temp. , system B condenser tube
Temp. , system A compressor current and system B compressor current. If the pages are
more than 5, the rest will display the content of page 1.
3) The lower area on the display will show current unit address and compressor loading rate
of system A on page 1 and 2 respectively.
Area 2
Area 1

Related product manuals