EasyManua.ls Logo

maximal FD100T - Air Filter

Default Icon
115 pages
Print Icon
To Next Page IconTo Next Page
To Next Page IconTo Next Page
To Previous Page IconTo Previous Page
To Previous Page IconTo Previous Page
Loading...
5-10t Internal Combustion Counterbalance Forklift Truck Operation & Maintenance Manual
-
-
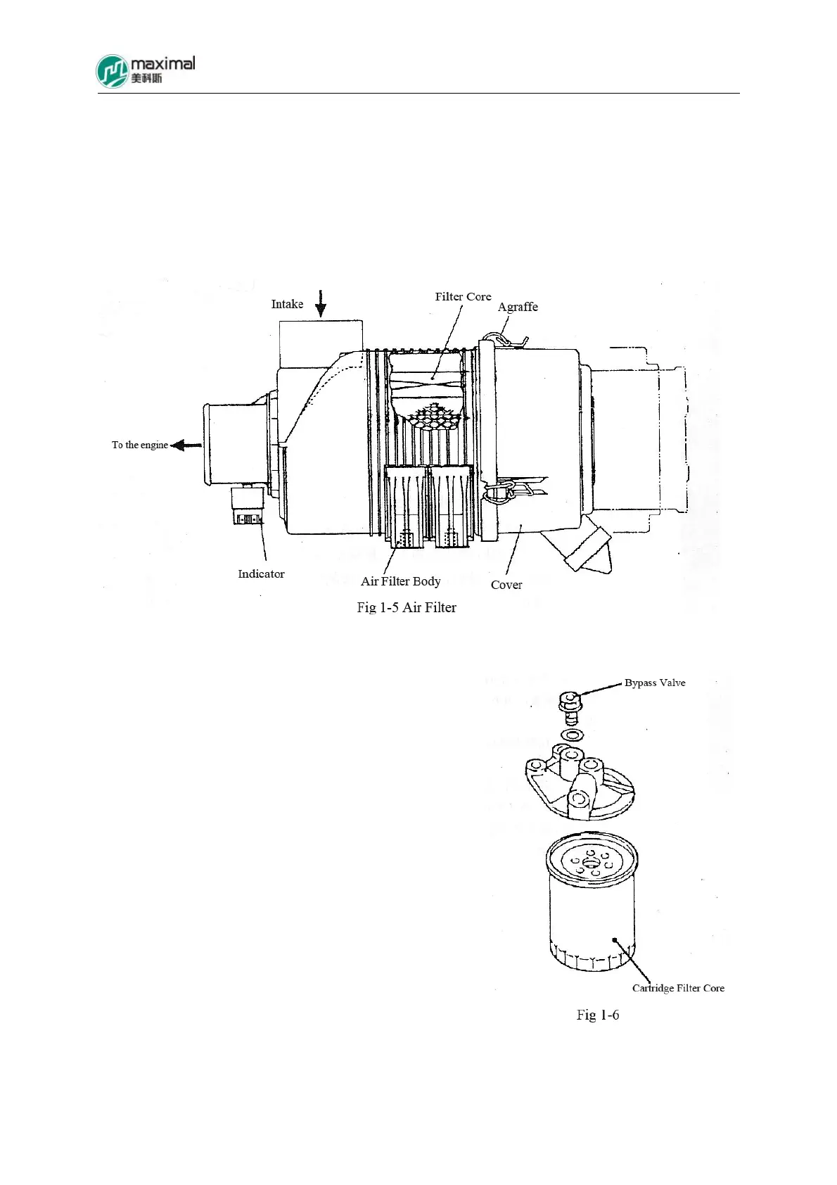
1.5.1 Refer to Fig 1-5 for air filter.
(1)Take out the core of filter.
(2)Examine the dust and damage status of core of filter. Firstly use low-pressure air to blow
from the inner side to the outer side, for cleaning, and the core of filter shall be replaced, if it
is severely block and cannot be cleaned or it has been damaged.
(3)Clean the dust inside the cover.
1.5.2 Refer to Fig 1-6 for fuel filter.
(1)Demount the fuel filter using special wrench, and it
shall be replaced, if damaged or blocked.
(2)Add several drips of fuel around the seal ring along
the new fuel filter and then mount it on. Further screw
it in for 2/3 circles, after seal ring has touched the
main body of fuel filter.

Table of Contents

Related product manuals