EasyManua.ls Logo

maximal FD100T - Control Valve and Inching Valve

Default Icon
115 pages
Print Icon
To Next Page IconTo Next Page
To Next Page IconTo Next Page
To Previous Page IconTo Previous Page
To Previous Page IconTo Previous Page
Loading...
5-10t Internal Combustion Counterbalance Forklift Truck Operation & Maintenance Manual
-
-
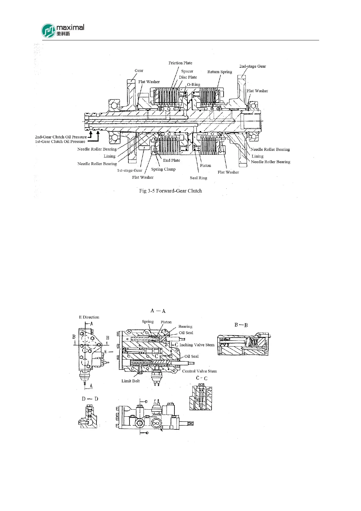
3.5 Control Valve and Inching Valve
Refer to Fig 3-6 for control valve.
Control valve is mounted in the upper part of transmission, with both gear-shift slide valve
and inching slide valve fitted inside the valve body.
The overflow valve of hydraulic clutch is used to adjust the oil pressure of clutch inside the
transmission, while the overflow valve of torque converter is used to adjust the oil pressure
flowing into the torque converter.
Inching valve stem is mutually coupled with the connecting rod of inching pedal, and the
valve stem is pressed in, when inching pedal is pushed down. Accordingly, the clutch will
release, when oil pressure of clutch is temporarily dropped.
Fig 3-6 Control Valve

Table of Contents

Related product manuals