EasyManua.ls Logo

McHale F5400 - Page 51

McHale F5400
95 pages
Print Icon
To Next Page IconTo Next Page
To Next Page IconTo Next Page
To Previous Page IconTo Previous Page
To Previous Page IconTo Previous Page
Loading...
McHale F5400 Baler
51
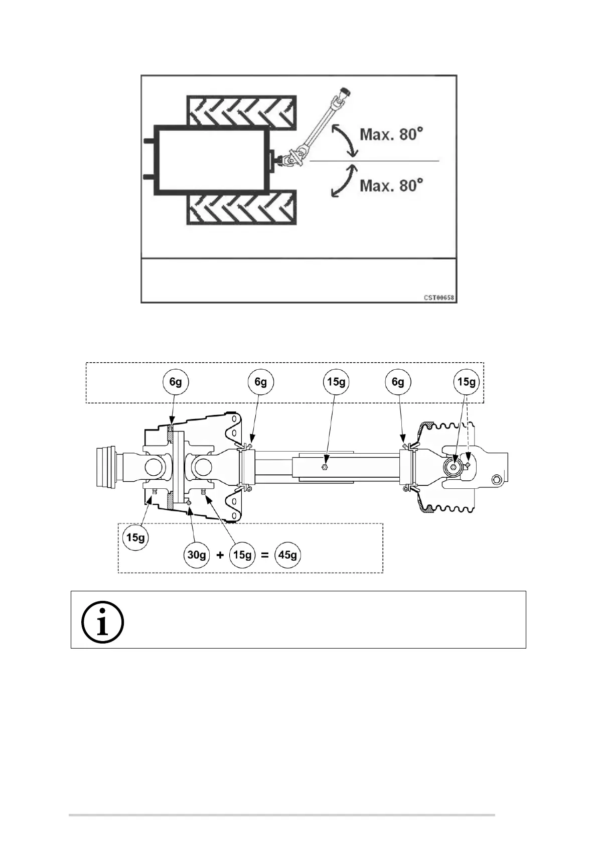
The recommended quantities of grease in grams for each grease point are shown
below.
NOTE: Grease point intervals
The lower 3 PTO shaft grease points are to be greased at 8 hour
intervals. All other grease points are to be serviced at 60 hour intervals.
ATTENTION: PTO wide angle joint must never exceed 80 deg.
both during operation and when stationary, otherwise permanent
damage will result.
Grease at
60 hour
intervals
Grease at
8 hour
intervals
1

Table of Contents

Related product manuals