EasyManua.ls Logo

McQuay AC 40A - Page 86

McQuay AC 40A
189 pages
Print Icon
To Next Page IconTo Next Page
To Next Page IconTo Next Page
To Previous Page IconTo Previous Page
To Previous Page IconTo Previous Page
Loading...
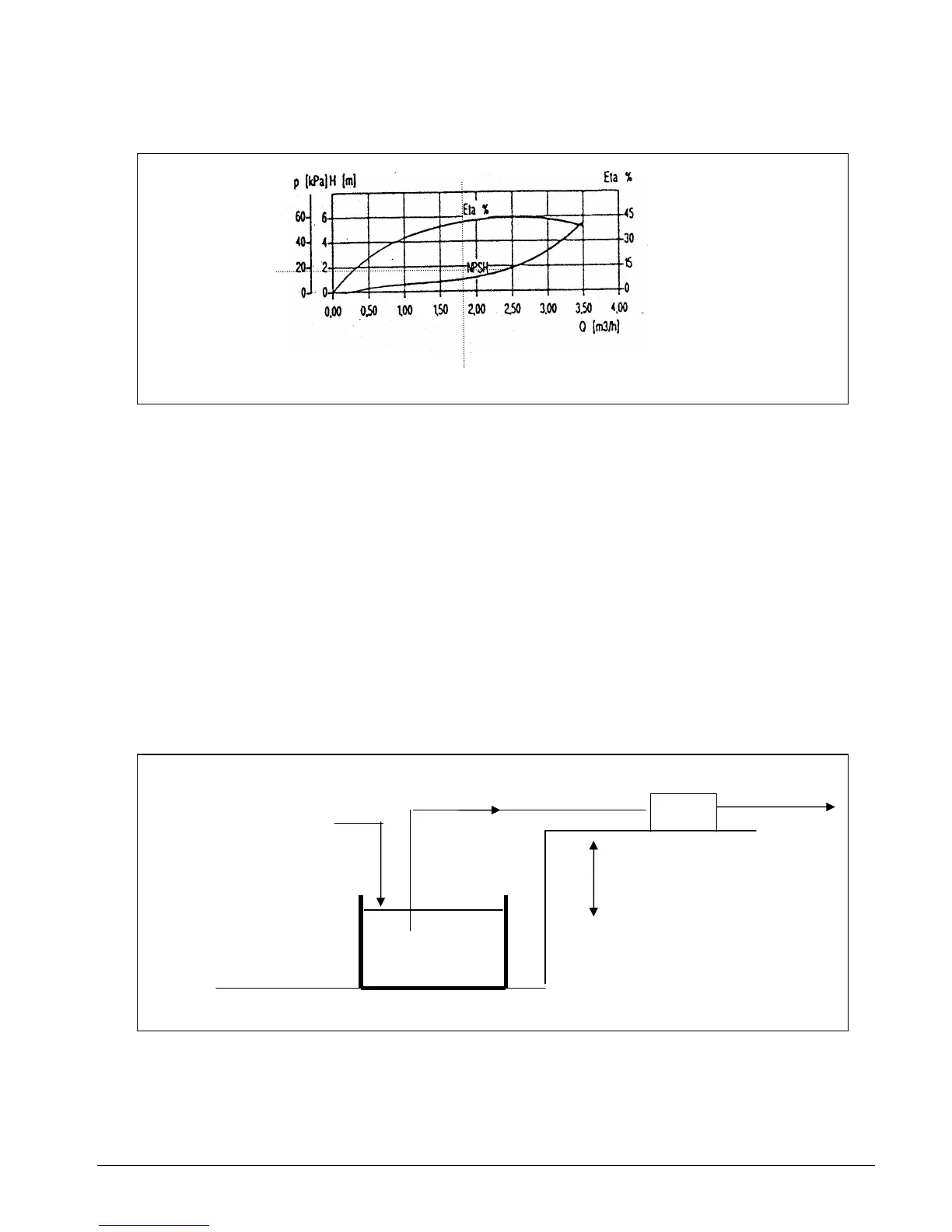
From the performance curve of CH2-30, at a flowrate of 1.82 m
3
/hr, we have a NPSHR = 1 m =
3.28 ft
1.8
1.8
Since NPSHA > NPSHR, there will be no cavitation problems.
We can see that the elevated tank will not give any cavitation problem as the water column
height will be sufficient to keep the inlet pressure higher than the vapour pressure.
However, if the mini-chiller is located above the tank, i.e. the pump is used to lift up water from
the tank, then care must be taken to check for cavitation.
Suppose the tank is lower than the pump inlet, then the value of P
s
in equation 1 will be
negative. Rearranging the equation 1:
P
s
= P
a
- P
vp
- P
f
- NPSHA
Therefore in the above example, for the same flowrate of 1.8 m
3
/hr and a NPSHR
of 3.28 ft, we can calculate what the maximum height is which the pump in the
chiller unit can lift up without giving cavitation problems, i.e.
P
s
|max = 34 - 0.34 - (2+1.6) - 3.28 = 26.8 ft. (or 20.24 ft with safety factor)
Return
Lift of water
Tank
C1
Supply
Section 5 Page 84

Related product manuals