EasyManua.ls Logo

MDC XT 14E 2021 - Filling the Truma Ultrarapid with Water

MDC XT 14E 2021
101 pages
Print Icon
To Next Page IconTo Next Page
To Next Page IconTo Next Page
To Previous Page IconTo Previous Page
To Previous Page IconTo Previous Page
Loading...
www.marketdirect.com.au
I
Ph: 1300 494 494 I ©Copyright Page | 52
The operating pressure for the gas supply is 2.75 kPa (AUS Propane) and must correspond to
the operating pressure of the appliance (see data plate).
LPG systems and pressure regulators must comply with the technical and administrative
regulations of the country in which the appliance is used. For your own safety it is absolutely
necessary to have the complete gas installation regularly checked by an expert (at least every 2
years). The vehicle owner is always responsible for arranging the gas inspection.
Do not operate when travelling.
Do not operate the water heater when refueling the vehicle and when it is in the garage.
Items sensitive to heat (e. g. spray cans) must not be stored in the installation area, since excess
temperatures may occur there under certain circumstances.
During the initial operation of a brand-new appliance (or after it has not been used for some
time), an amount of fumes and a slight smell may be noticed for a short while.
Always observe the operating instructions prior to starting! The vehicle owner is responsible for
correct operation of the appliance.
Before using the product for the first time, it is essential to flush the entire water supply through
with clean warm water. Always mount the cowl cap when the water heater is not being operated!
Drain the water heater if there is a risk of frost! Warranty claims will not be accepted for frost
damage.
Always remove the cowl cover prior to operating the water heater.
If connecting to a central water supply (rural or city connection) or when using more powerful
pumps, a pressure reducer must be used which prevents pressures of greater than 400 kPa
occurring in the Truma UltraRapid.
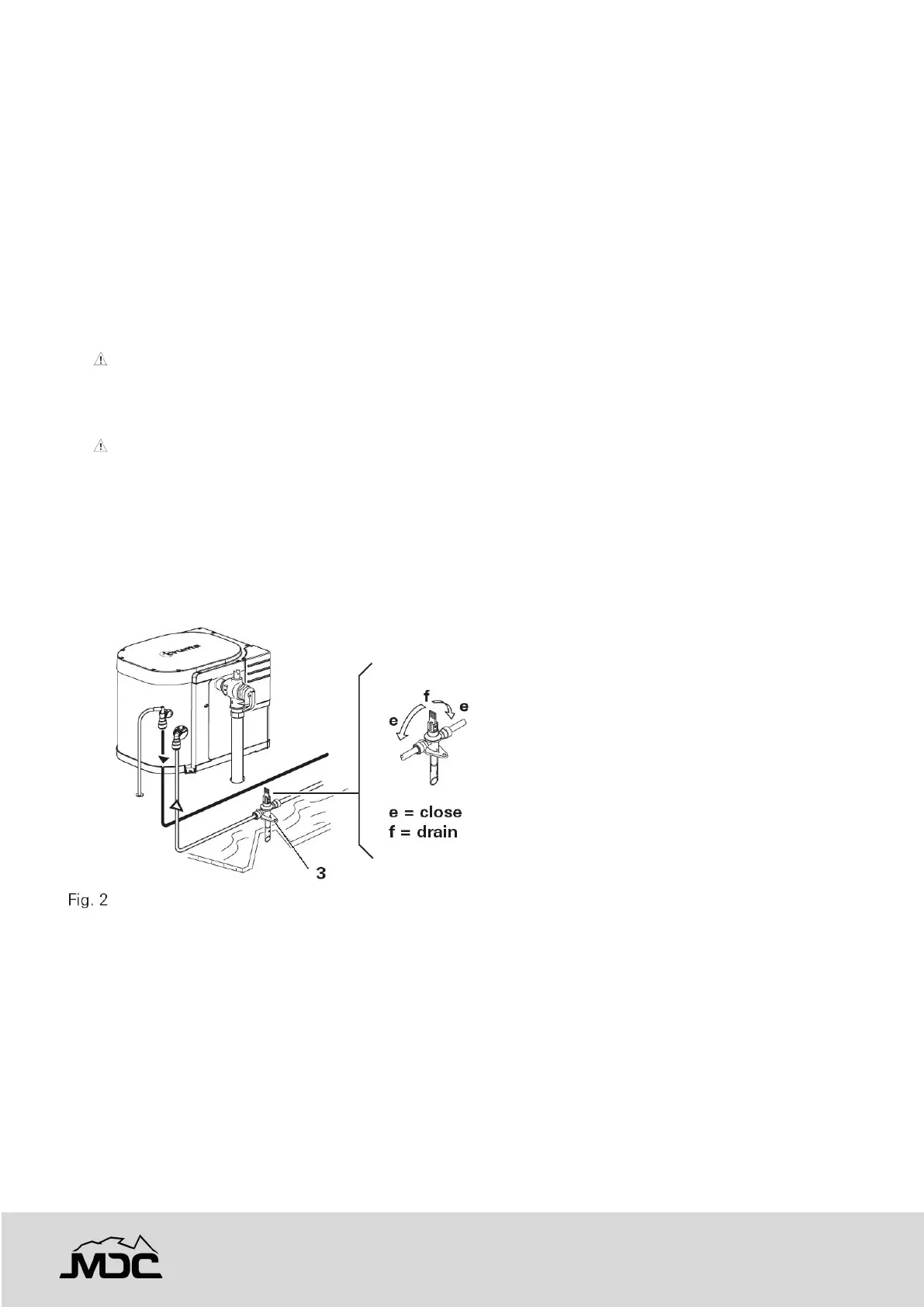
Filling the Truma UltraRapid with Water
Check that the drain valve (3) and the P&T safety valve (Fig.2a - 4) in the cold water intake are closed.
Close drain valve (Fig. 2 - 3). Lever in the “e” position (close).
Test lever (Fig. 2a - 4a) of the pressure relief valve (4) must be in the “close” position.
Open hot tap in bathroom or kitchen, with pre-selecting mixing taps or single-lever fittings set to “hot”.
Switch on power for water pump (main switch or pump switch).
Leave the tap open to let air escape while the water heater is filling. The heater is filled when water
flows out of the tap.
Residues of frozen water can prevent filling if there is a frost. The water heater can be defrosted by
switching on the heater for a short period (max. 2 minutes). Frozen pipes can be defrosted by heating the
room.
If just the cold-water system is being used, without water heater, the heater tank is also filled up
with water. In order to avoid damage through frost, water must be drained by means of the drain
valve, even if the heater has not been used. As an alternative, two shut-off valves, resistant to hot
water, can be fitted in front of the cold and hot water connection.

Table of Contents

Related product manuals