EasyManua.ls Logo

Memorex MVDP1072 - Picture Quality Setting

Memorex MVDP1072
52 pages
Print Icon
To Next Page IconTo Next Page
To Next Page IconTo Next Page
To Previous Page IconTo Previous Page
To Previous Page IconTo Previous Page
Loading...
27
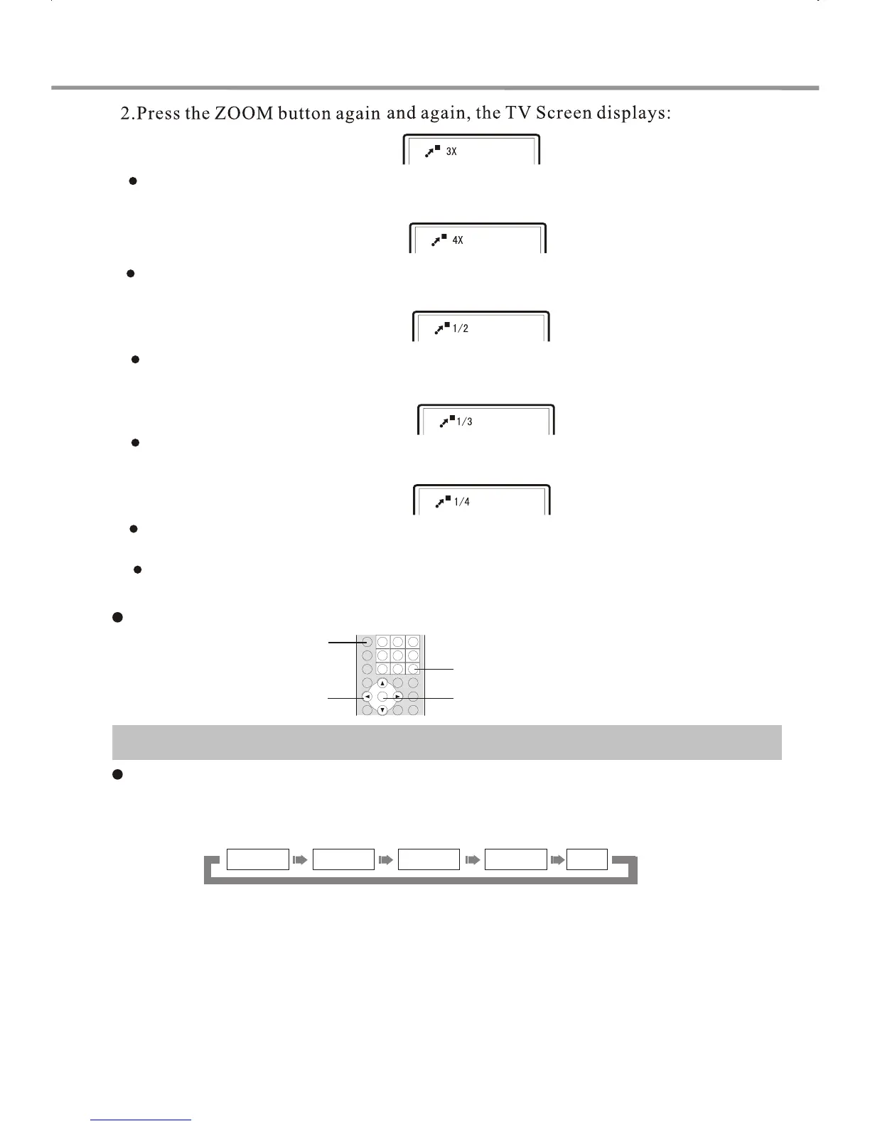
SELECT
PIC
CURSOR
ZOOM
You can focus on any desired part of the frame.
3. When the fame is magnified, Press the CURSOR buttons to move the frame.
PLAY OPERATION
Picture Quality Setting
Brightness
Contrast
Hue
Saturation
3. Press the ZOOM button again. The TV screen
displays:
The frame is magnified agin.
4. Press the ZOOM button for the fourth time.
The TV screen displays:
The frame is magnified for the third time.
The frame is reduced in size.
5. Press the ZOOM button for the fifth time.
The TV screen displays:
6. Press the ZOOM button for the sixth time.
The TV screen displays:
7. When the fame is magnified, press the
CURSOR buttons to move the frame.
The frame is reduced again.
The frame is reduced for the third time.
You can focus on any desired part of the frame.
Adjust the brightness, contrast, chroma, saturation
of pictures on theLCD display.
1. Press the PICTURE button repeatedly to cycle through the picture settings:
2. When the screen displays the desired item, use the left CURSOR button to decrease
the value or use the right CURSOR button to increase the value.
3. The picture quality settings (except MODE) adjusted
by the PICTURE button will
powering off. If you want to save the picture quality settings not be saved after
you must set the video preferences in the setup menu.
(Use PICTURE on the DVD player or PIC on the remote control.)
Mode

Related product manuals