EasyManua.ls Logo

Menvier Security TS790+ - View Location Text (LCD Only) [1.B]; Relearn Hardware [1.C]

Menvier Security TS790+
70 pages
Print Icon
To Next Page IconTo Next Page
To Next Page IconTo Next Page
To Previous Page IconTo Previous Page
To Previous Page IconTo Previous Page
Loading...
Engineer’s Menu 1 TS790+ & TS900+ Installation Manual
38
User Menu 1 Flowchart
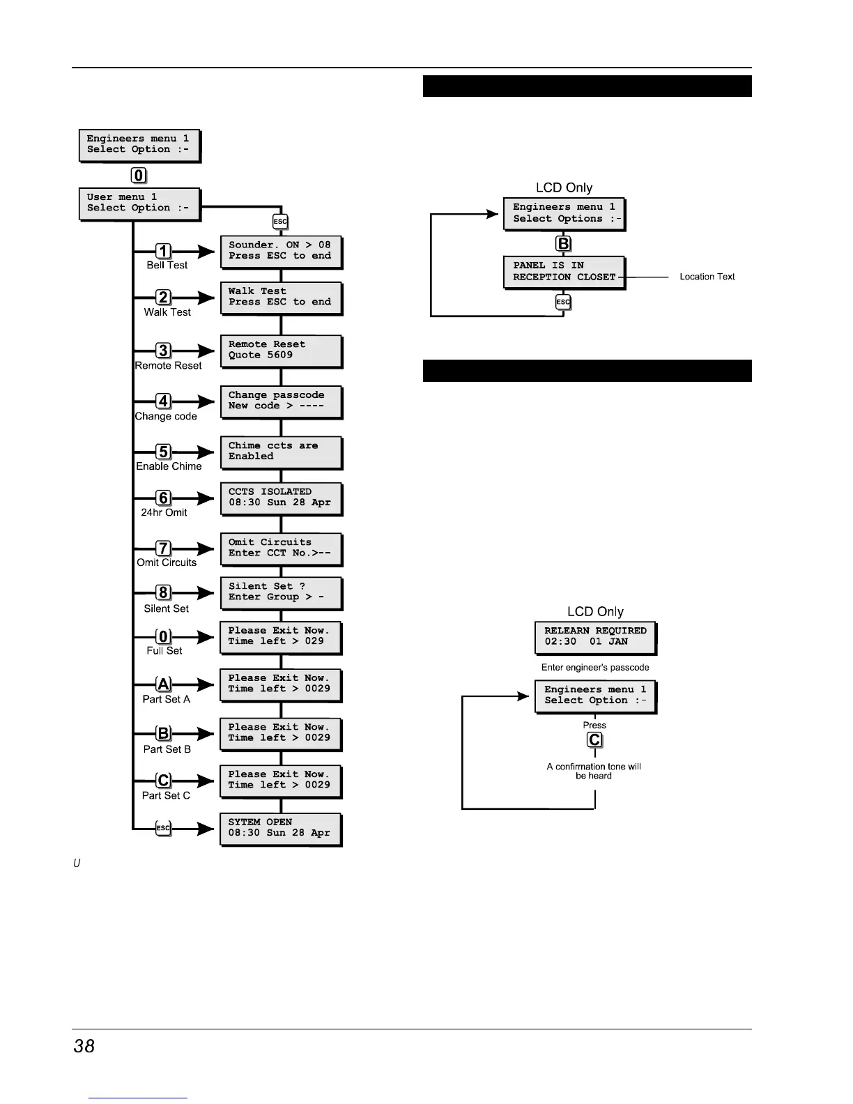
View Location Text (LCD Only) [1.B]
This option allows the engineer to view the
panel location text. The text message is
programmed in "Engineers menu 3", see page
49.
View Location Text
Relearn Hardware [1.C]
The engineer must use this option if they have
changed the system hardware configuration
while in engineer’s mode, for example by
adding or removing a remote keypad.
When the engineer tries to exit from engineer’s
mode the display shows "RELEARN REQUIRED".
To clear this message re-select Engineers Menu
1 and press C. The system gives an
acceptance tone and re-logs all current
hardware. Confirm the new hardware by
viewing the system log.
Relearn Hardware

Table of Contents

Related product manuals