EasyManua.ls Logo

Mercury 45 - Throttle Grip Friction Adjustment - Tiller Handle Models; Steering Friction Adjustment; Reglage du Frottement de la Manette des Gaz - Modeles À Barre Franche; Reglage du Frottement de la Direction

Mercury 45
95 pages
Print Icon
To Next Page IconTo Next Page
To Next Page IconTo Next Page
To Previous Page IconTo Previous Page
To Previous Page IconTo Previous Page
Loading...
38
90-10120Z80
gog36
21
3
a
b
a
b
a
b
og
FEATURES & CONTROLS
ogt1
THROTTLE GRIP FRICTION ADJUSTMENT TILLER
HANDLE MODELS
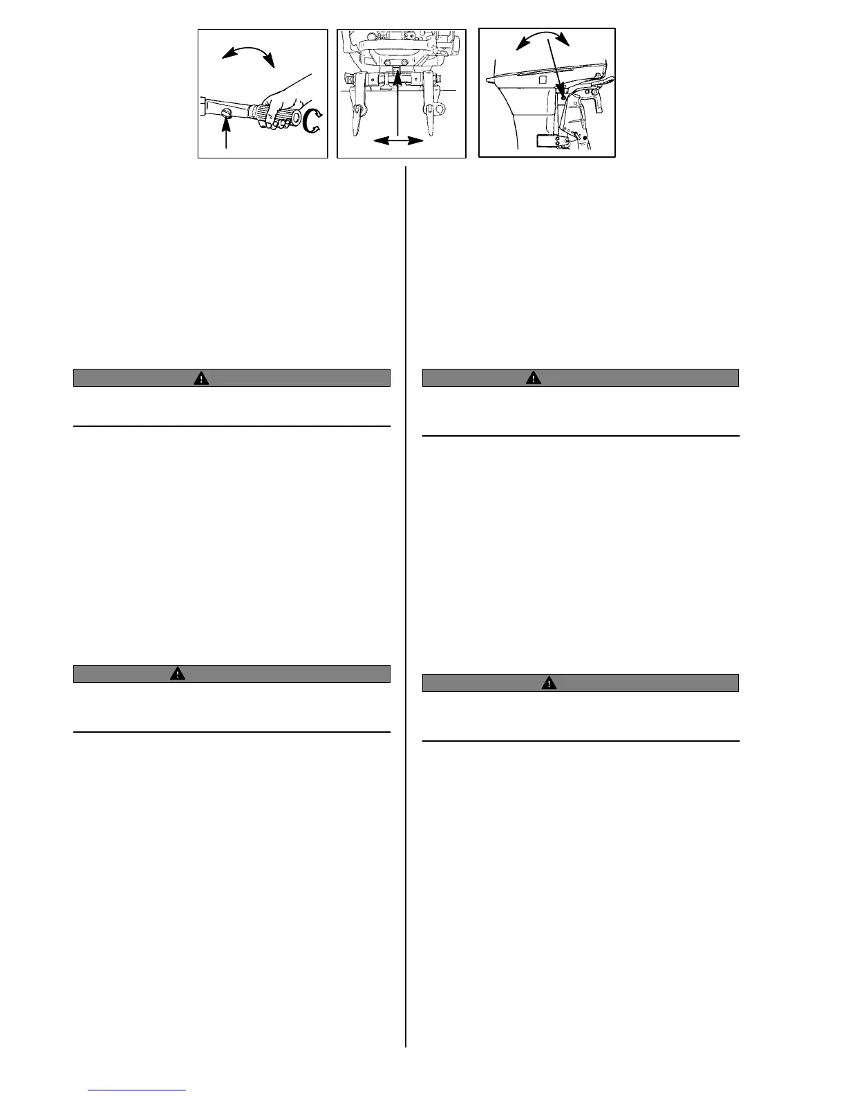
1
Throttle Grip Friction Knob Turn friction knob to set and maintain the throttle
at desired speed. Turn knob towards (a) to tighten friction and move knob
towards (b) to loosen friction.
STEERING FRICTION ADJUSTMENT
Tiller Handle Models
2 Steering Friction Adjustment Adjust this lever to achieve the desired steering
friction (drag) on the tiller handle. Move lever towards (a) to tighten friction or
move towards (b) to loosen friction.
Remote Steering Models
3 Steering Friction Adjustment Adjust this screw to achieve the desired
steering friction (drag) on the steering wheel. Turn screw towards (a) to tighten
friction or turn towards (b) to loosen friction.
WARNING
Avoid possible serious injury or death from loss of boat control. Maintain
sufficient steering friction to prevent the outboard from steering into a full
turn if the tiller handle or steering wheel is released.
ogd
FONCTIONS ET COMMANDES
ogt1d
REGLAGE DU FROTTEMENT DE LA MANETTE DES GAZ
MODELES A BARRE FRANCHE
1
Bouton de frottement de la manette des gaz - Tournez le bouton de frottement
pour régler et maintenir larrivée des gaz à la vitesse désirée. Tournez ce
bouton en direction de (a) pour augmenter le frottement et le déplacer dans le
sens de (b) pour le réduire.
REGLAGE DU FROTTEMENT DE LA DIRECTION
Modèles à barre franche
2 Réglage du frottement de la direction - Régler ce levier pour obtenir le
frottement de la direction désiré (traînée) sur la barre franche. Déplacez ce
levier en direction de (a) pour augmenter le frottement et vers (b) pour le
réduire.
Modèles avec télécommande
3 Réglage du frottement de la direction - Régler cette vis pour obtenir le
frottement de la direction désiré (traînée) sur le volant. Déplacez la vis en
direction de (a) pour augmenter le frottement et vers (b) pour le réduire.
AVERTISSEMENT
Evitez de provoquer des blessures graves ou mortelles en perdant le
contrôle du bateau. Maintenez une résistance de la direction suffisante
pour empêcher un virage complet lorsque vous relâchez la barre franche ou
le volant.
ogj
CARACTERISTICAS Y CONTROLES
ogt1j
AJUSTE DE FRICCION DEL MANGO DE ACELERACION -
MODELOS CON PALANCA DE DIRECCION MANUAL
1
Perilla de fricción del acelerador - Haga girar la perilla de fricción para ajustarla,
mientras mantiene el acelerador en la velocidad deseada. Haga girar la perilla
hacia (a) para aumentar la fricción y hacia (b) para reducirla.
AJUSTE DE FRICCION DE LA DIRECCION
Modelos con palanca de dirección manual
2 Ajuste de la fricción de la dirección - Ajuste esta palanca para conseguir la
fricción (arrastre) deseada en la palanca de dirección. Mueva la palanca hacia
(a) para aumentar la fricción o hacia (b) para reducirla.
Modelos con dirección remota
3 Ajuste de la fricción de la dirección - Ajuste este tornillo para conseguir la
fricción (arrastre) deseada en el volante. Haga girar el tornillo hacia (a) para
aumentar la fricción o hacia (b) para reducirla.
ADVERTENCIA
Evite posibles lesiones graves o la muerte como resultado de la pérdida del
control de la embarcación. Mantenga suficiente fricción de dirección para
evitar que el motor fuera de borda dé una vuelta completa si se suelta la
palanca de dirección manual o el volante.
ogh
CARACTERÍSTICAS E CONTROLES
ogt1h
AJUSTE DE FRICÇÃO DO MANETE DO ACELERADOR -
MODELOS COM CANA DO LEME
1 Ajuste de Fricção do Manete do Acelerador - Gire a porca para ajustar e
manter o acelerador na velocidade desejada. Gire a porca na direção (a) para
apertar a fricção e mova a porca na direção (b) para afrouxar a fricção.
AJUSTE DE FRICÇÃO DA DIREÇÃO
Modelos com Cana de Leme
2 Ajuste de fricção de direção - Ajuste esta alavanca para alcançar a fricção de
direção (resistência) desejada na manete da cana de leme. Mova a alavanca
na direção (a) para apertar a fricção e mova na direção (b) para afrouxar a
fricção.
Modelos com Direção Remota
3 Ajuste de Fricção da Direção - Ajuste este botão para atingir a fricção
(resistência) desejada na direção. Gire este botão na direção (a) para apertar
a fricção e gire na direção (b) para afrouxar a fricção.
AVISO
Evite a possibilidade de ferimentos graves ou morte devido à perda de
controle do barco. Mantenha suficiente fricção na direção para evitar que
o motor provoque uma virada completa da cana de leme ou a direção seja
solta.

Table of Contents

Other manuals for Mercury 45

Related product manuals