EasyManua.ls Logo

Mercury 45 - Outboard Remote Control Models; Remote Steering Notice; Moteurs Hors-Bord À Télécommande; Avertissement Relatif a la Bielle de Direction Par Télécommande

Mercury 45
95 pages
Print Icon
To Next Page IconTo Next Page
To Next Page IconTo Next Page
To Previous Page IconTo Previous Page
To Previous Page IconTo Previous Page
Loading...
7
90-10120Z80
gob20
21
a
a
ob
GENERAL INFORMATION
obe1
OUTBOARD REMOTE CONTROL MODELS
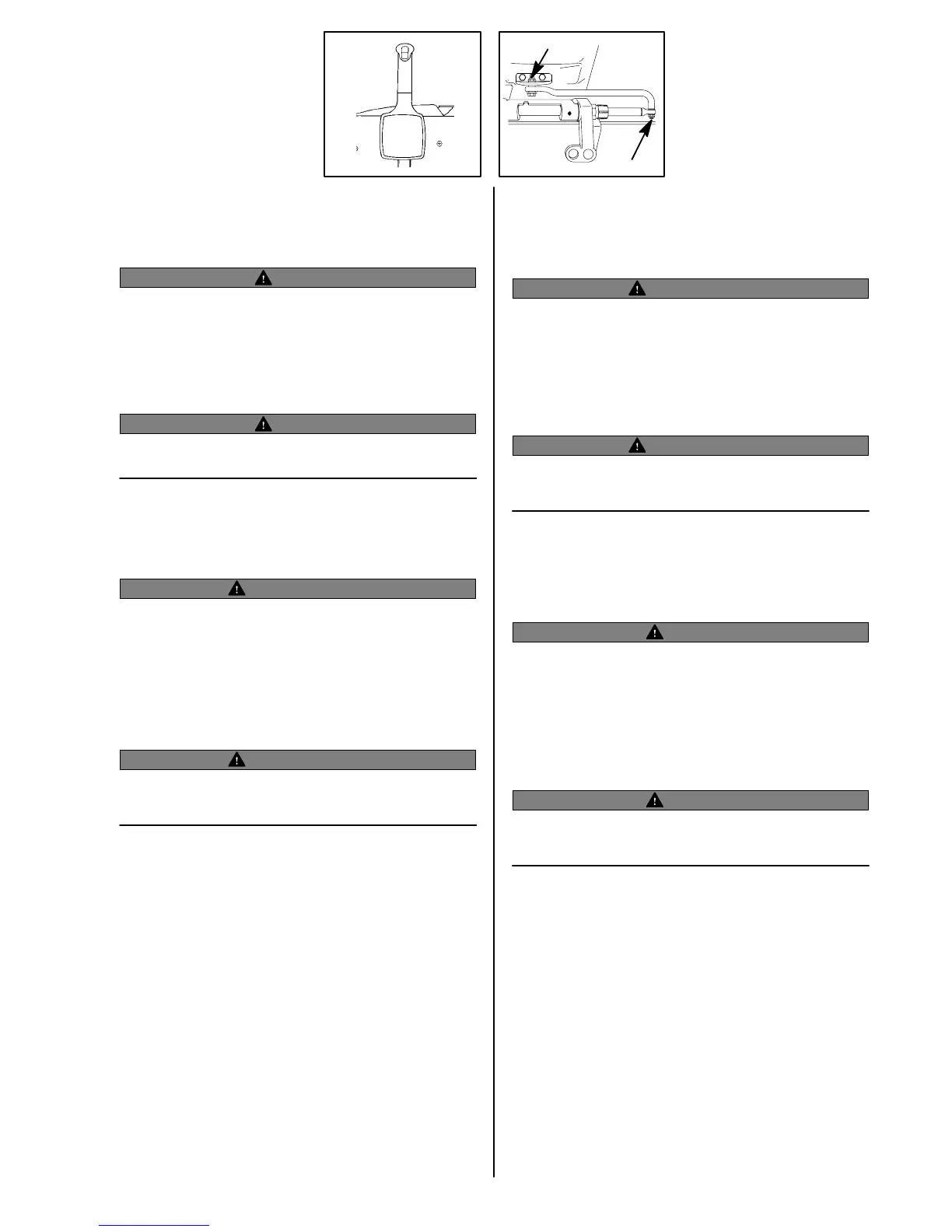
1
The remote control connected to your outboard must be equipped with a
start-in-neutral only protection device. This prevents the engine from starting
when the shift is actuated in any position other than neutral.
WARNING
Avoid serious injury or death from a sudden unexpected acceleration when
starting your engine. The design of this outboard requires that the remote
control used with it must have a built in start-in-neutral only protection
device.
obf1
REMOTE STEERING NOTICE
2
The steering link rod that connects the steering cable to the engine must be
fastened utilizing self-locking nuts (a). These self- locking nuts must never be
replaced with common nuts (non locking) as they will work loose and vibrate
off, freeing the link rod to disengage.
WARNING
Disengagement of a steering link rod can result in the boat taking a full,
sudden, sharp turn. This potentially violent action can cause occupants to
be thrown overboard exposing them to serious injury or death.
obd
INFORMATIONS GENERALES
obe1d
MOTEURS HORS-BORD A TELECOMMANDE
1
La télécommande connectée à votre moteur hors-bord doit être équipée dun
dispositif de protection contre un démarrage accidentel du moteur lorsque
celui-ci ne se trouve pas au point mort.
AVERTISSEMENT
Une accélération brusque et inattendue au moment du démarrage du
moteur peut causer des blessures graves ou mortelles. La conception de ce
moteur hors-bord exige que la télécommande utilisée soit équipée dun
dispositif de protection contre le démarrage dun moteur non débrayé.
obf1d
AVERTISSEMENT RELATIF A LA BIELLE DE DIRECTION
PAR TELECOMMANDE
2
La bielle de direction qui relie le câble de direction au moteur doit être fixée à
laide d’écrous de blocage (a). Ces écrous auto-bloquants ne doivent en aucun
cas être remplacés par des écrous ordinaires (sans blocage). Les vibrations
risque en effet de les desserrer et de les détacher, ce qui peut entraîner le
désenclenchement de la bielle.
AVERTISSEMENT
Le désenclenchement de la bielle de direction peut causer un virage
complet brusque et serré du bateau. Ce mouvement violent peut faire
tomber à leau les occupants du bateau et les exposer ainsi à des blessures
graves ou mortelles.
obj
INFORMACION GENERAL
obe1j
CONTROL REMOTO DEL MOTOR FUERA DE BORDA
1
El control remoto conectado a su motor fuera de borda debe estar equipado
con un dispositivo de protección para el arranque sólo en neutro. Esto impide
que el motor arranque mientras está embragado en cualquier otra posición
distinta de neutro.
ADVERTENCIA
Evite las lesiones graves o la muerte debido a una aceleración repentina
inesperada mientras está arrancando su motor. El diseño de este motor
fuera de borda exige que el control remoto usado tenga incorporado un
dispositivo de protección para el arranque sólo en neutro.
obf1j
AVISO SOBRE DIRECCION A CONTROL REMOTO
2
La varilla de la dirección que conecta el cable de la dirección con el motor tiene
que sujetarse utilizando tuercas autotrabantes (a). Estas tuercas
autotrabantes jamás deben ser reemplazadas por tuercas comunes (no
trabadoras), porque se aflojarán y se saldrán con las vibraciones, dejando que
la varilla de conexión se desenganche.
ADVERTENCIA
Si la varilla de la dirección se desengancha, la embarcación podría dar un
giro completo repentino. Este movimiento potencialmente violento podría
ocasionar que los ocupantes de la embarcación sean lanzados al agua,
exponiéndolos a lesiones graves o incluso la muerte.
obh
INFORMAÇÕES GERAIS
obe1h
CONTROLE REMOTO DO MOTOR DE POPA
1
O controle remoto ligado ao motor de popa deve ser equipado com um
dispositivo de proteção contra arranque com marcha engrenada (partida em
neutro). Isto impede que o motor dê a partida quando o câmbio for acionado
em qualquer posição que não seja a neutra (ponto morto).
AVISO
Evite ferimentos graves ou morte, causados por aceleração brusca e
inesperada durante a partida do motor. Este motor de popa foi projetado
para exigir que o controle remoto que o acompanha seja equipado com um
dispositivo de proteção contra a partida do motor com a marcha engrenada
(partida em neutro).
obf1h
AVISO SOBRE A DIREÇÃO POR CONTROLE REMOTO
2
A barra de articulação da direção, que liga os cabos de direção ao motor, deve
ser presa utilizando-se de porcas de segurança (a). As porcas de segurança
nunca devem ser substituídas por porcas comuns (que não travam), porque
estas ficariam frouxas e, com a vibração, permitiriam o desengate da barra de
articulação.
AVISO
O desengate da barra de articulação poderá provocar uma mudança
completa, aguda e repentina na direção tomada pelo barco. Esta ação, que
é potencialmente violenta, poderá arremessar os passageiros para fora do
barco, expondo-os a graves ferimentos ou morte.

Table of Contents

Other manuals for Mercury 45

Related product manuals