EasyManua.ls Logo

MGE UPS Systems Upsilon STS 30A - Simplified Diagrams; Upsilon STS Simplified Diagram; Simplified Diagram of an Installation

MGE UPS Systems Upsilon STS 30A
30 pages
Print Icon
To Next Page IconTo Next Page
To Next Page IconTo Next Page
To Previous Page IconTo Previous Page
To Previous Page IconTo Previous Page
Loading...
Page 28 - 34020113EN/AA
Upsilon STSUpsilon STS
Upsilon STS
Q1
Upsilon STS
Q2
Q3 Q2BPQ1BP
S1 S2
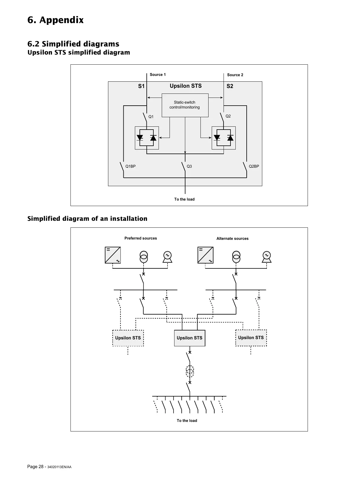
6. Appendix
6.2 Simplified diagrams
Upsilon STS simplified diagram
Simplified diagram of an installation
Static-switch
control/monitoring
Source 2
Source 1
To the load
Alternate sources
Preferred sources
To the load
All manuals and user guides at all-guides.com

Table of Contents

Related product manuals