EasyManua.ls Logo

Miele DGC 7250 - Controls

Miele DGC 7250
124 pages
Print Icon
To Next Page IconTo Next Page
To Next Page IconTo Next Page
To Previous Page IconTo Previous Page
To Previous Page IconTo Previous Page
Loading...
Controls
17
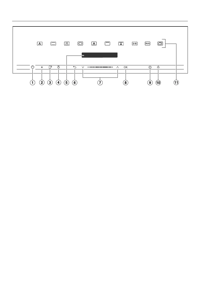
a
Recessed On/Off sensor
For switching the steam combination
oven on and off
b
Optical interface
(for Miele service technicians only)
c
sensor
For controlling the steam
combination oven via your mobile
device
d
sensor
For injecting the bursts of steam in
the Moisture Plus operating mode
e
Display
For displaying the time of day and
information on operation
f
sensor
For going back a step and for
changing menu options during a
cooking programme
g
Navigation area with andarrow
sensors
For scrolling through lists and for
changing values
h
OK sensor
For calling up functions and saving
settings
i
sensor
For setting a minute minder, the
cooking duration or the start or finish
time for the cooking programme
j
sensor
For switching the oven interior
lighting on and off
k
Sensor controls
For selecting functions, Automatic
programmes and settings

Table of Contents

Related product manuals