EasyManua.ls Logo

Mindray BeneView T8 - Output System

Mindray BeneView T8
234 pages
Print Icon
To Next Page IconTo Next Page
To Next Page IconTo Next Page
To Previous Page IconTo Previous Page
To Previous Page IconTo Previous Page
Loading...
2-6
2.3.2 Output System
LCD
The patient monitor adopts a high-resolution LCD. The LCD is connected with the main
board. Signals and power supply of the backlight board are transferred by the button board.
Alarm Lamp
The patient monitor has two alarm lamps: alarm lamp and technical alarm lamp. Alarm lamp
lights either red or yellow whereas technical alarm lamp lights blue only. The signals from
the alarm lamps are transferred by the button board and are controlled directly by the main
board.
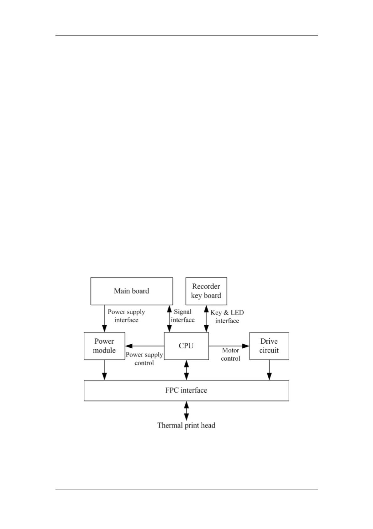
Recorder
The recorder receives data coming form the main board and then sends them to the thermal
printhead for printing. The recorder has a hardkey (starting/stopping recordings) and a green
LED on its front. It is connected with the main board.
The following diagram shows its operating principle.

Table of Contents

Other manuals for Mindray BeneView T8

Related product manuals