EasyManua.ls Logo

Mindray BeneView T8 - Equipment Interface System

Mindray BeneView T8
234 pages
Print Icon
To Next Page IconTo Next Page
To Next Page IconTo Next Page
To Previous Page IconTo Previous Page
To Previous Page IconTo Previous Page
Loading...
2-13
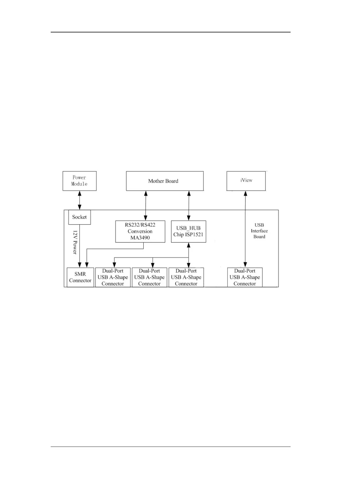
2.3.5 Equipment Interface System
USB Interface Board
The USB interface board is compatible with such USB interfaces as USB2.0, USB1.1 and
USB1.0. It is connected with the main board and the power module. It receives USB
differential signals coming from the main board and then distributes them to maximumly six
USB interfaces via two ISP1521 chips. The USB interface board of iView system directly
connects to two USB interfaces (on USB board) of host. The UART signal output by the
main board is converted into RS422 signal by the USB interface board. The USB interface
board receives 5 VDC and 12 VDC inputs from the power module, of which the 5 VDC goes
to the USB interface board and the 12 VDC outputted to the SMR connector through a fuse.

Table of Contents

Other manuals for Mindray BeneView T8

Related product manuals