EasyManua.ls Logo

Mindray Z50BW - Page 188

Mindray Z50BW
237 pages
Print Icon
To Next Page IconTo Next Page
To Next Page IconTo Next Page
To Previous Page IconTo Previous Page
To Previous Page IconTo Previous Page
Loading...
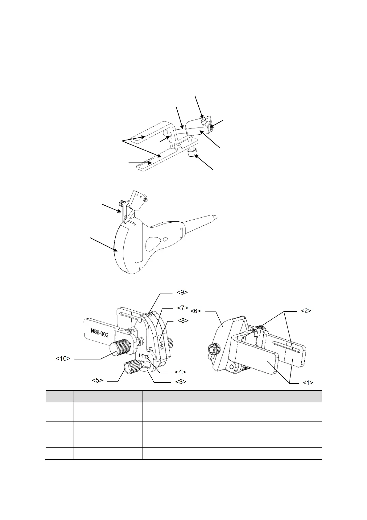
12-14 Probes and Biopsy
NGB-001, NGB-002, NGB-003, and NGB-005 (Metal/needle un-detachable)
The structure of plastic needle-guided bracket NGB-001, NGB-002, NGB-003 and NGB-
005 are similar to each other. The following figure shows the structure with NGB-001 as
an example.
NGB-003 (Metal/needle detachable)
No.
Name
Description
<1>
Clamp of needle-
guided bracket
Used for installing the needle-guided bracket on the
transducer
<2>
Groove of the
needle-guided
bracket
Matches with the tab of the transducer
<3>
Angle adjusting base
There are 3 types of angles available to be adjusted
Needle guide rack
Locating
groove
Clamp
Needle guide
Clamping knob of
the needle guide
Needle guide
hole
Grip knob
Locating pit
Transducer
Needle-guided
bracket

Table of Contents

Related product manuals