EasyManua.ls Logo

MIR Spirolab - 2. Hardware Description; 2.1. Main Board Module and Battery Charging

MIR Spirolab
33 pages
Print Icon
To Next Page IconTo Next Page
To Next Page IconTo Next Page
To Previous Page IconTo Previous Page
To Previous Page IconTo Previous Page
Loading...
Spirolab
Page 7 of 33
Rev.1.0
Service Guide
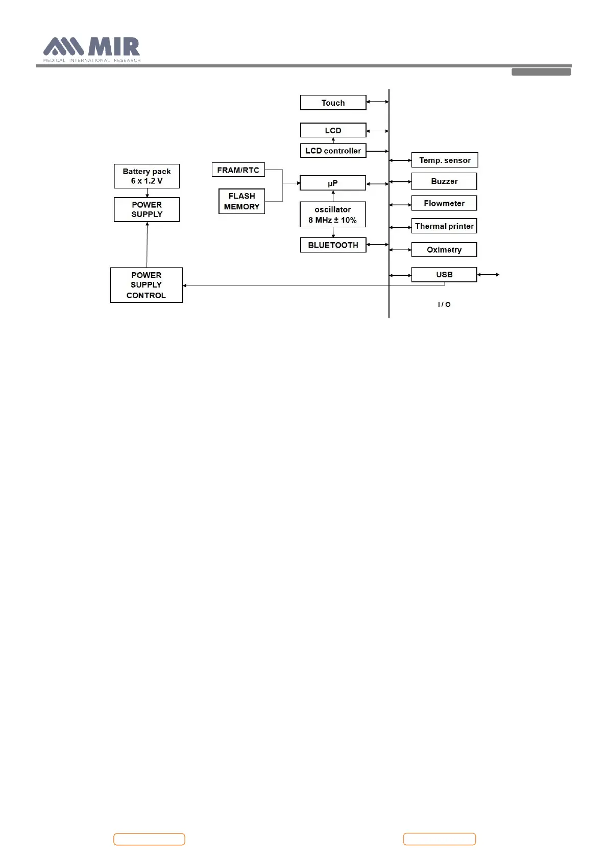
2.1. MAIN BOARD MODULE
The main board module translates the input signal from the turbine flowmeter into spirometry values and compares them
with the predicted values calculated with the parameters age, sex, height, weight and ethnic group. Test results are
displayed on a LCD and can be printed on paper with an external printer. Spirometry test data are stored into memory and
are available for later use.
The main board module also makes a calculation using the oximetry input signal; from this signal collected at a 16
msec/frequency the percentage value of oxygen saturation in the blood and the heart beat values are obtained, which are
oximetry parameters.
The main board module includes:
- Main Microcontroller
- FLASH memory with device configuration and spirometry data
- FRAM/RTC with non volatile memory and real time clock
- Measuring controller for flow, volume and ambient temperature
- Ambient temperature sensor (to enable conversion from ATP to BTPS conditions).
- USB port
- Oximetry port
- Bluetooth module
2.1.1. Charging controller for battery (U5 BQ2004)
The charging controlling circuit used in the Spirolab ensures a charge and optimum condition of the battery providing
that the battery temperature and voltage are within the preset limits. Temperature, voltage and time are all monitored
throughout the charge process.
The charging process itself is automatically initiated in two situations:
1. After connecting the battery charger to the unit.
2. When the unit is switched on, the battery charger is connected and the voltage level of the battery is below a preset
limit. In this situation the LCD indicates the low battery status with one line in the battery indicator.
The fast charging process is terminated by any of the following:
- Battery voltage out of range (Maximum/Minimum)
- Battery temperature out of range (Maximum/Minimum)
- Maximum charging time (timeout = 5h:30min)
- Termination according to the charging mode, chosen by jumper JP2.

Table of Contents

Other manuals for MIR Spirolab

Related product manuals