EasyManua.ls Logo

Mitsubishi Electric A173UHCPU - Page 62

Mitsubishi Electric A173UHCPU
389 pages
To Next Page IconTo Next Page
To Next Page IconTo Next Page
To Previous Page IconTo Previous Page
To Previous Page IconTo Previous Page
Loading...
3. POSITIONING SIGNALS
3 31
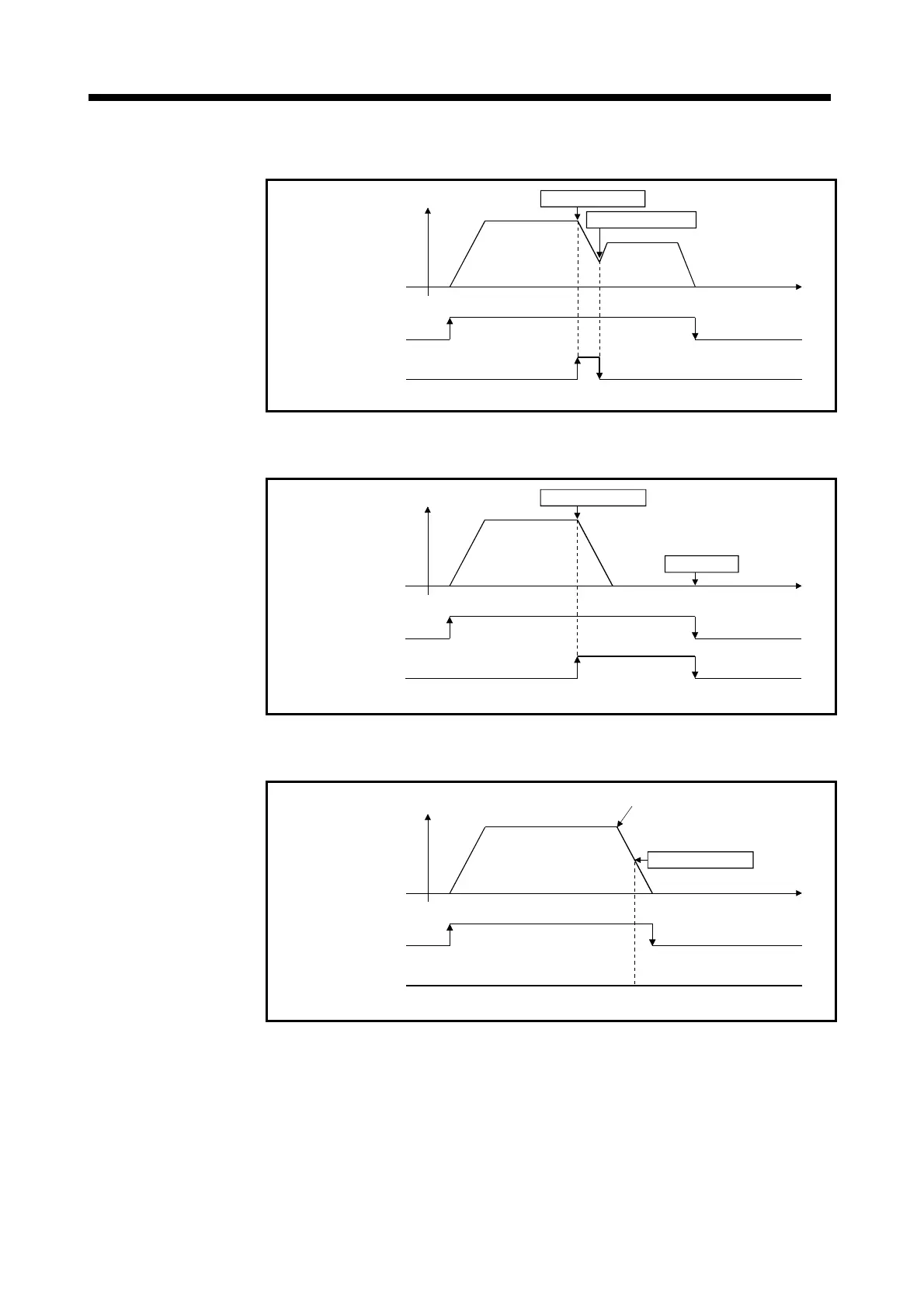
(a) The flag turns OFF if a speed change request for other than speed "0"
occurs during deceleration to a stop due to speed change "0".
V
t
S
tart acceptance
f
lag
ON
OFF
S
peed change "0"
a
cce
p
tin
g
fla
g
Speed change "0"
Speed change V2
V
1
V
2
(b) The flag turns OFF if a stop cause occurs after speed change "0"
acceptance.
V
t
S
tart acceptance
f
lag
ON
OFF
S
peed change "0"
a
cce
p
tin
g
fla
g
Speed change "0"
Stop cause
(c) The speed change "0" accepting flag does not turn ON if a speed change
"0" occurs after an automatic deceleration start.
V
t
S
tart acceptance
f
lag
(OFF)
Speed change "0"
acce
p
tin
g
fla
g
Speed change "0"
Automatic deceleration start

Table of Contents

Other manuals for Mitsubishi Electric A173UHCPU

Related product manuals