EasyManua.ls Logo

MKS Mass-Flo 1179A - Mounting a Type 2179 MFC; Figure 5: Mounting Dimensions of the Base Aluminum Plate; Figure 6: Mounting Dimensions of the Type 2179 Flow Controller

MKS Mass-Flo 1179A
88 pages
Print Icon
To Next Page IconTo Next Page
To Next Page IconTo Next Page
To Previous Page IconTo Previous Page
To Previous Page IconTo Previous Page
Loading...
Mounting a Type 2179 MFC Cha
p
ter Two: Installation
30
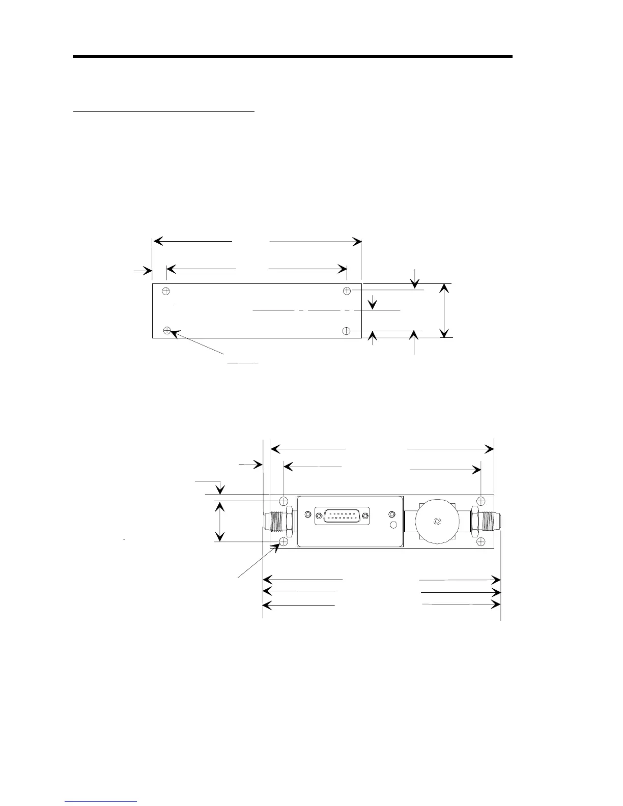
Mounting a Type 2179 MFC
The Type 2179 MFC includes a positive shutoff valve. Mount each assembly horizontally, if
possible. Placement of flow components in a different orientation may cause a small zero shift.
The zero offset can be removed according to the instructions in
How To Zero the Flow
Controller
, page 40. The air operator port is a ¹/
8
NPT (National Pipe Thread) internal fitting.
The aluminum plate can be mounted via four mounting holes. Refer to Figure 5 for the location
of the mounting holes on the aluminum plate.
6.34
(161.0)
5.58
(141.7)
0.233
0.240
Dia 4 PL
0.56
2 PL
1.12
2 PL
1.50
Ref.
0.38
(9.7)
Figure 5: Mounting Dimensions of the Base Aluminum Plate
6.33 (160.7)
5.58 (141.7)
0.187 (4.7)
1.125 (28.5)
0.405 (10.3) VCO compatible
0.565 (14.3) VCR compatible
0.345 (8.7) Swa
g
elok compatible
0.233 to 0.240 Dia
(6.0) - TYP.
6.27 (159.2) SL*
6.71 (170.4) VCR*
6.39 (162.3) VCO*
*
or compatible
Figure 6: Mounting Dimensions of the Type 2179 Flow Controller

Table of Contents

Related product manuals