EasyManua.ls Logo

Motorola IMPRES WPLN4189 - Page 55

Motorola IMPRES WPLN4189
252 pages
To Next Page IconTo Next Page
To Next Page IconTo Next Page
To Previous Page IconTo Previous Page
To Previous Page IconTo Previous Page
Loading...
Deutsch
25
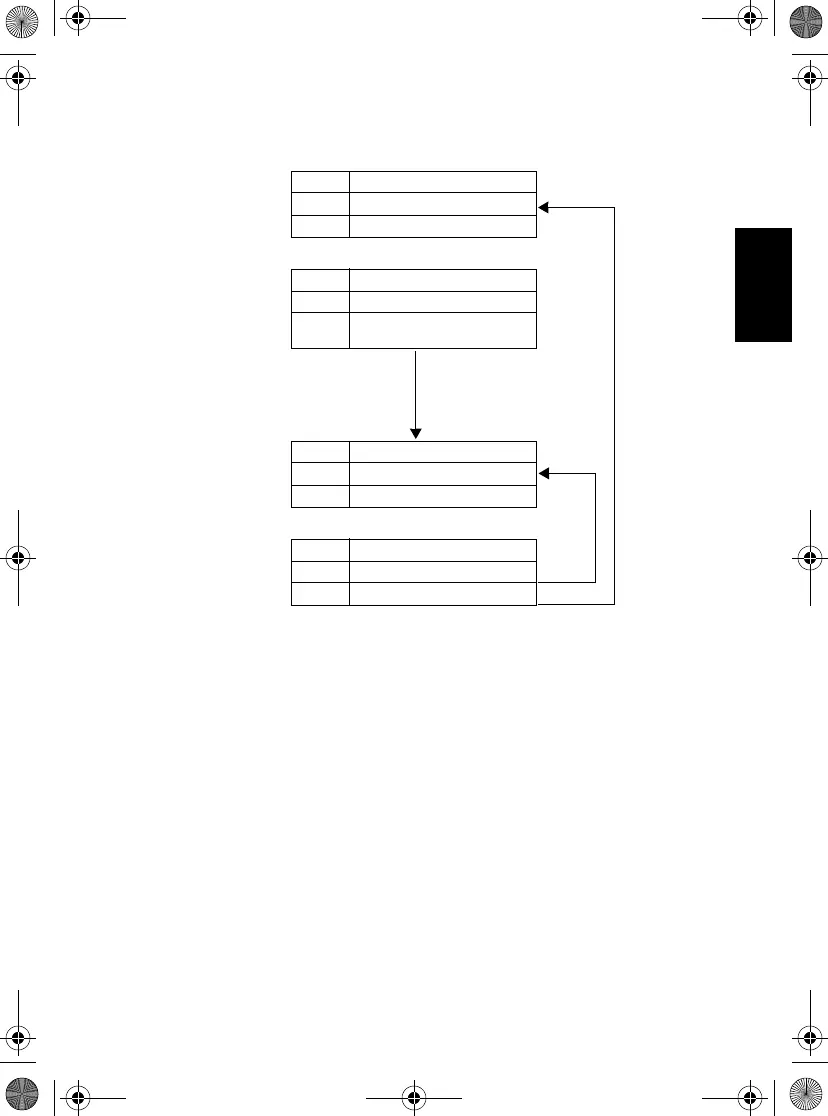
Vor der Kalibrierung:
LED Durch den Ladezustand definiert
Zeile 1 KIT# xxxxxxxx (KIT-NR. xxxxxxxx)
Zeile 2 SN: yyyyyyyyyyyy
LED Durch den Ladezustand definiert
Zeile 1 KIT# xxxxxxxx (KIT-NR. xxxxxxxx)
Zeile 2 yyyyy CHEMISTRY (CHEMISCHE
EIGENSCHAFTEN)
LED Konstant ORANGE (ORANGE)
Zeile 1 DISCHARGE (ENTLADUNG)
Zeile 2
LED Durch den Ladezustand definiert
Zeile 1 CALIBRATING (Kalibrieren)
Zeile 2 AKKU
Start
(4,0 Sek.)
(2,0 Sek.)
(2,0 Sek.)
(7,0 Sek.)
Alle
51,0 Sek.
Alle
9,0 Sek.
5X
45,0
Sek.
6866537D22.book Page 25 Wednesday, March 23, 2016 12:53 PM

Table of Contents

Related product manuals