EasyManua.ls Logo

Nikon D70 - Page 109

Nikon D70
218 pages
Print Icon
To Next Page IconTo Next Page
To Next Page IconTo Next Page
To Previous Page IconTo Previous Page
To Previous Page IconTo Previous Page
Loading...
99
Taking Photographs—Flash Photography
5
Press the shutter-release button halfway and check exposure (shutter
speed and aperture). In , , , and modes, the built-in Speedlight
will pop up automatically if required for additional lighting and the fl ash
will begin charging. The shutter speeds and apertures available when the
built-in Speedlight is raised are listed below.
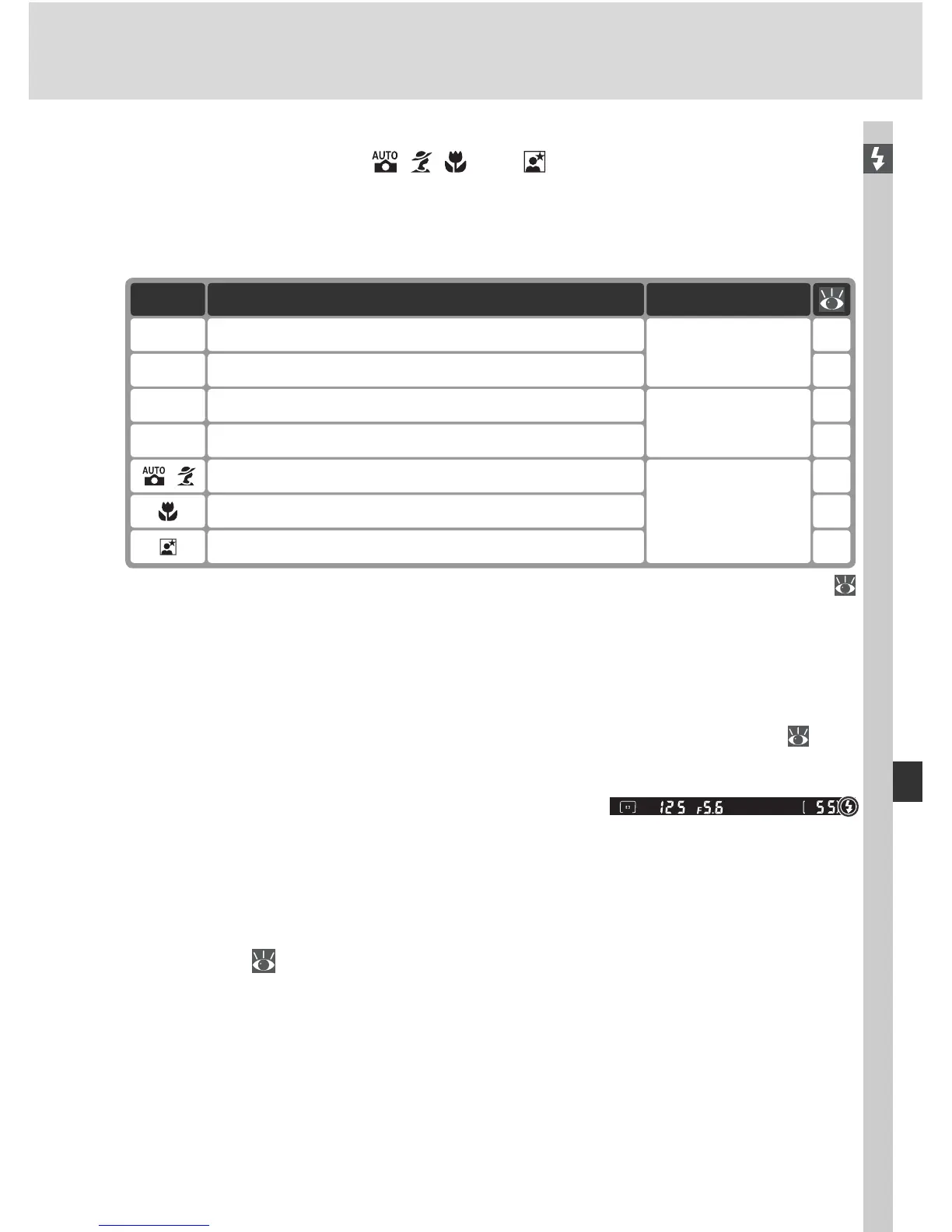
Mode Shutter speed Aperture
Set automatically
by camera
Value selected by
user
3
P Set automatically by camera (
1
/
500
1
/
60 s)
1
72
S Value selected by user (
1
/
500–30 s)
2
79
A Set automatically by camera (
1
/
500
1
/
60 s)
1
81
M Value selected by user (
1
/
500–30 s)
2
82
Set automatically by camera (
1
/
500
1
/
125 s)
Set automatically by camera (
1
/
500
1
/
60 s) ,
Set automatically by camera (
1
/
500–1 s)
Set automatically
by camera
1 Limit for slow shutter speed is set using Custom Setting 21 (Shutter spd;
152). Regardless of option selected, camera may set shutter to speeds as slow
as 30 s at fl ash sync settings of slow sync, slow rear-curtain sync, and slow sync
with red-eye reduction.
2 Speeds faster than
1
/
500 s will be reduced to
1
/
500 s when built-in Speedlight is
raised or optional Speedlight is attached and turned on.
3 Flash range varies with aperture. Consult table of fl ash of fl ash ranges ( 100)
when setting aperture in A and M modes.
6
Check that the fl ash-ready indicator appears
in the viewfi nder. If the fl ash-ready indicator
is not displayed when the built-in Speedlight is
used, the shutter release will be disabled.
7
Compose the photograph, making sure that the subject is within range
of the fl ash ( 100), then focus and shoot. If the fl ash-ready light blinks
for about three seconds after the photograph is taken, the fl ash has fi red
at full output and the photograph may be underexposed. Check the
results in the monitor. If the photograph is underexposed, adjust settings
and try again.

Table of Contents

Other manuals for Nikon D70

Related product manuals