EasyManua.ls Logo

Ninglu AM706D - Input and Output; NMEA0183 Data Transmission

Ninglu AM706D
36 pages
Print Icon
To Next Page IconTo Next Page
To Next Page IconTo Next Page
To Previous Page IconTo Previous Page
To Previous Page IconTo Previous Page
Loading...
7
Input and Output
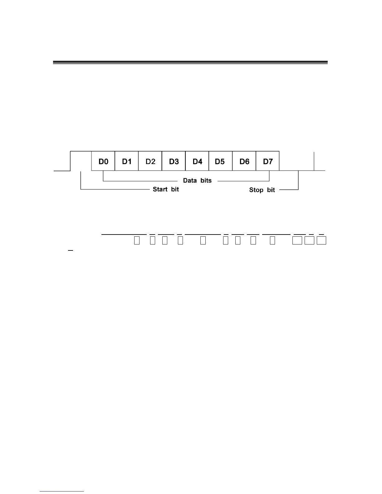
Data transmission for NMEA0183
Data transmission adpots NMEA0183 format and conforms
IEC61162-1 standards.
Date is transmitted in serial asynchronous form. 4800 baud rate is
4800, 8-bit data, no parity bit and one stop bit.
GPS data inputRMC
$--RMC,hhmmss.ss,A,llll.ll,a,yyyyy.yy,a,x.x,x.x,xxxxxx,x.x,a*h
h<CR><LF>
(1) UTC of position fix
(2) Status, A=data valid, V=navigation receiver warning
(3) Latitude
(4) Latitude, N/S
(5) Longitude
(6) Longitude, E/W
(7) Speed over ground, knots
(8) Course over ground, degree true
(9) UTC date dd/mm/yy
(10) Magnetic variation, degree, E/W
(11) Mode indicator, A=Autonomous mode
D=Differential mode
E=Estimateddead reckoningmode
M=Manual input mode
S=Simulator mode
N=Data not valid
(12) Checksum value
1 2 3 4 5 6 7 8 9 10 11 12

Table of Contents