EasyManua.ls Logo

Ninglu AM706D - Main Unit Power Connection

Ninglu AM706D
36 pages
Print Icon
To Next Page IconTo Next Page
To Next Page IconTo Next Page
To Previous Page IconTo Previous Page
To Previous Page IconTo Previous Page
Loading...
30
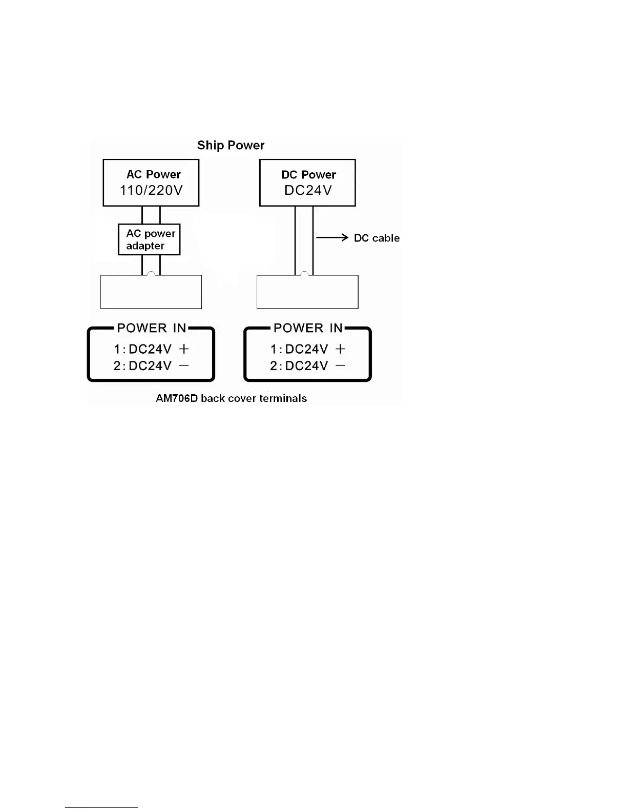
Main unit AM706D Power in
Connect DC cable and ac power adapter (GA-240150) with ship
power.

Table of Contents