EasyManua.ls Logo

Omron D6T - Example Electrical Connections

Omron D6T
24 pages
Print Icon
To Next Page IconTo Next Page
To Next Page IconTo Next Page
To Previous Page IconTo Previous Page
To Previous Page IconTo Previous Page
Loading...
D6T MEMS Thermal Sensors User’s Manual (A284) 6
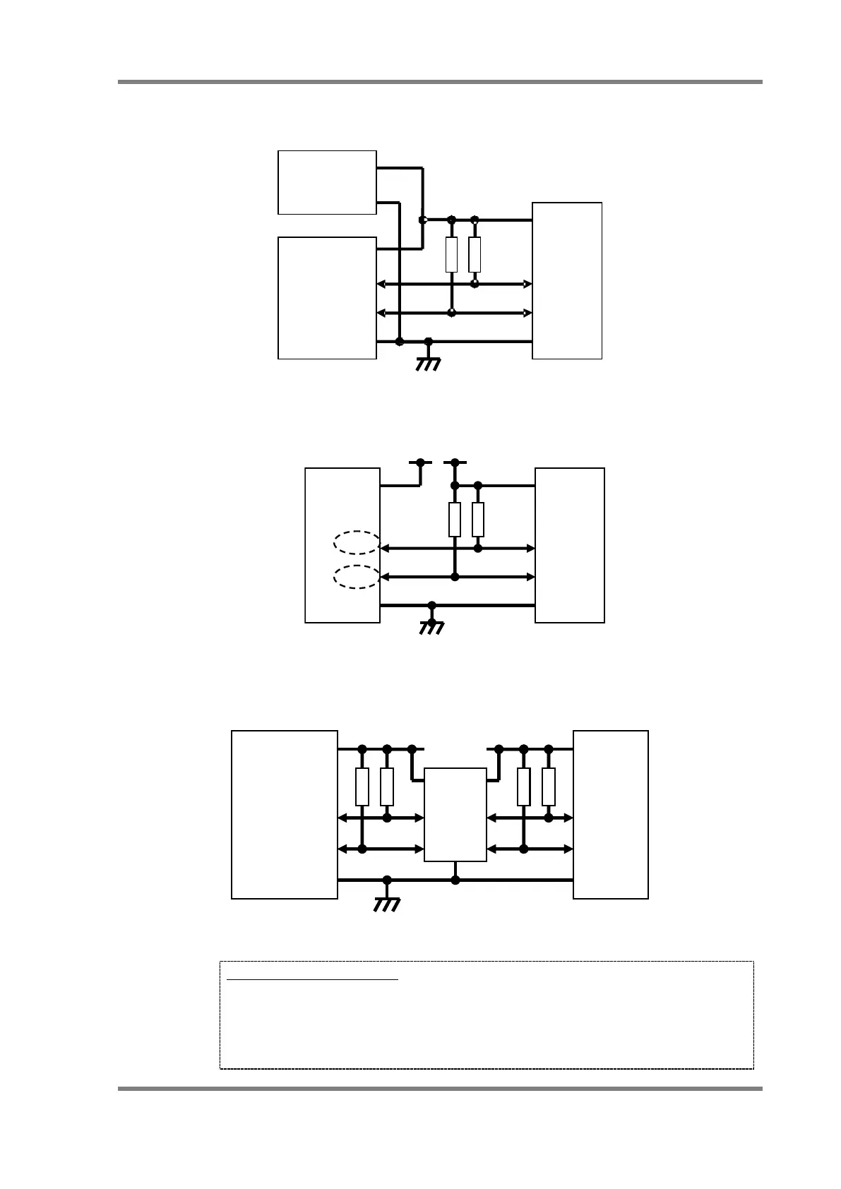
6.2 Example Electrical Connections
Scenario 1: 5 V MCU Direct Connection (Same voltage as the microcontroller power supply)
Fig. 7 (a) Connecting to 5 V Microcontroller
Scenario 2: 3 V MCU (I2C port is 5 V fault tolerant)
D6T
VCC
SDA
SCL
GND
VDD
SDA
SCL
GND
MCU
R
R
5V3V
Fig. 7 (b) 5 V Fault Tolerant Specification
Scenario 3: Using an I2C Level Converter
(Not a 5 V fault tolerant specification, or other devices are also connected to the 3 V I2C bus)
D6T
VCC
SDA
SCL
GND
VDD
SDA
SCL
GND
MCU
R
R
I2C
Level
Translating
R
R
5V
Ex. PCA9517
Fig. 7 (c) Using a Level Converter
Pull-up Resistance Values
Values will be adjusted per user calculations of specific usage conditions such
as wiring capacitance.
(Check the I2C specifications. In most cases, the range is set to approximately
3 k to 10 kΩ.)
D6T
VCC
SDA
SCL
GND
VDD5
SDA
SCL
GND
MCU
Power
circuit
5V
GND
R
R
I2C
level
converter

Related product manuals