EasyManua.ls Logo

Omron MX2 - QUICK GUIDE V1.0 - Brug Af Bremsemodstand; Brug Af Termistor

Omron MX2 - QUICK GUIDE V1.0
16 pages
Print Icon
To Next Page IconTo Next Page
To Next Page IconTo Next Page
To Previous Page IconTo Previous Page
To Previous Page IconTo Previous Page
Loading...
Quick Guide
MX2
OEE-DK
13
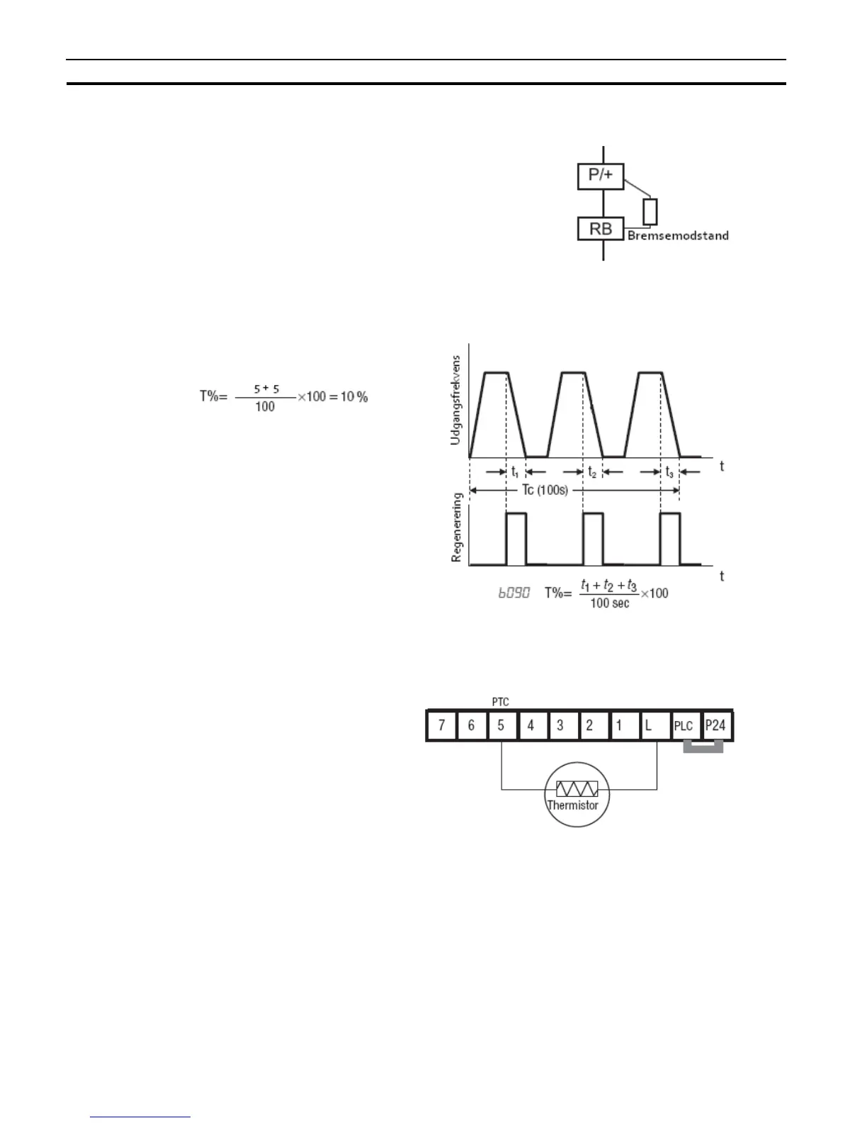
7.3. Brug af bremsemodstand
For at optage regenereret energi fra motoren, kan det blive
nødvendigt at montere en ekstern bremsemodstand.
Følgende parametre skal indstilles:
B090 – Beregnet brug af bremsemodstand [% per 100 sekunder].
Indstil denne parameter efter hvor meget du bruger den
eksterne bremsemodstand.
Eksempelvis:
Decellerationstid = 5 sekunder
Cyklustid = 50 sekunder
B090 = 10%
B095 – Aktivering af bremsemodstand
00 = Ikke aktiveret
01 = Aktiveret under kørsel
B097 – Ohm værdi af bremsemodstand
Indstil den ohmske værdi for
bremsemodstanden.
7.4. Brug af termistor
Omformeren har indbygget termistor indgang;
digital indgang 5. Indgangen kan bruges
samtidig med den indbyggede overstrøms-
beskyttelse.
Termistor beskyttelse aktiveres ved:
C005 – Digital indgang 5 – 19: Termistor
Termistoren monteres mellem L og 5.
Når modstandsværdien når 3k, falder
omformeren ud på termistor beskyttelsen.