EasyManua.ls Logo

Omron OMNUC R88D-WT15HF - Page 130

Omron OMNUC R88D-WT15HF
484 pages
To Next Page IconTo Next Page
To Next Page IconTo Next Page
To Previous Page IconTo Previous Page
To Previous Page IconTo Previous Page
Loading...
2-99
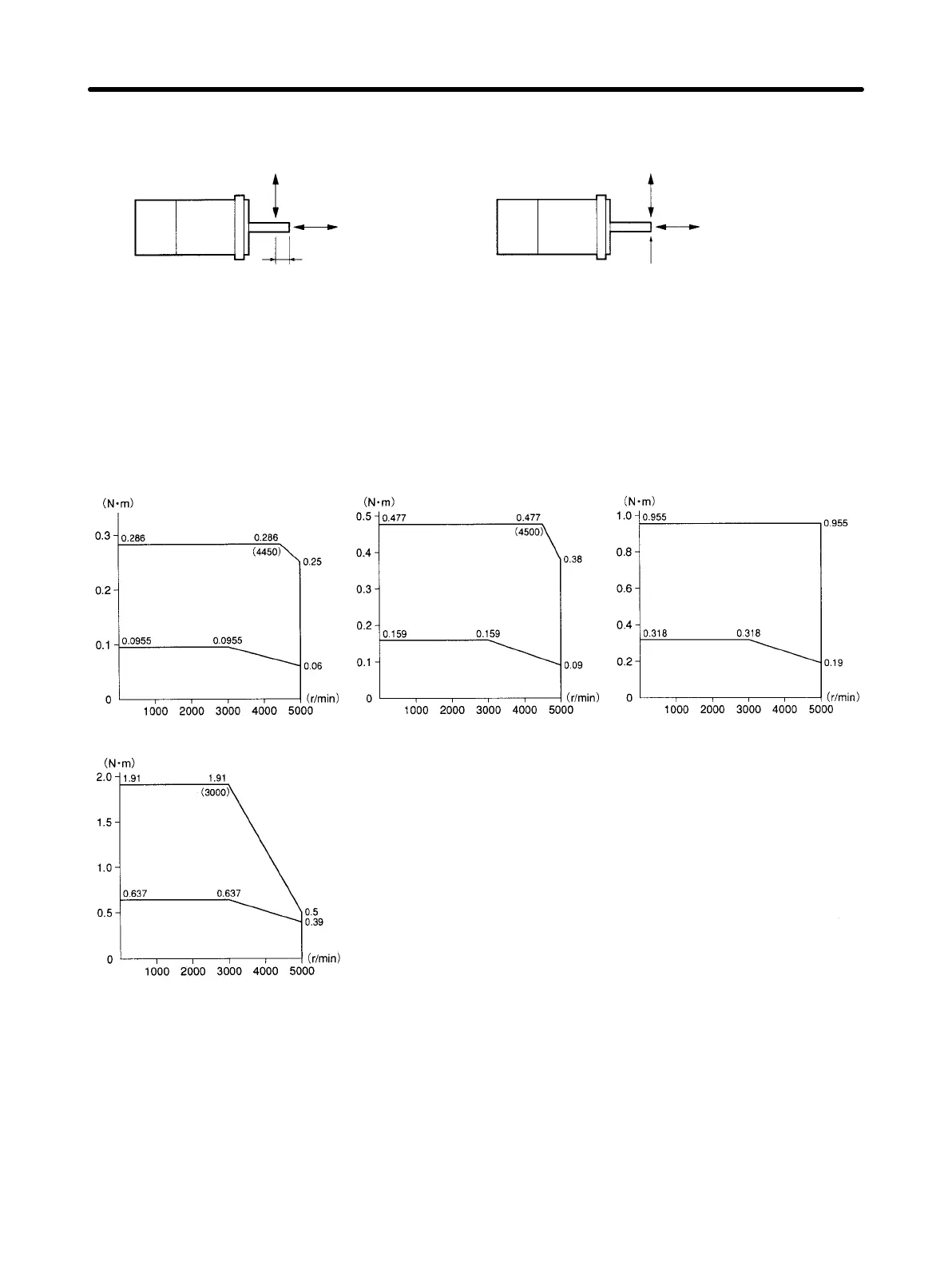
Note 5. The value indicated for the allowable radial load is for the positions shown in the following
diagrams.
Radial load
Thrust load
(Models of 750 W or less)
5 mm
(Models of 1 kW or more)
End of Servomotor shaft
Radial load
Thrust load
Note 6. The applicable load inertia is restricted by the regenerative energy absorption capacity.
D Torque and Rotation Speed Characteristics
3,000-r/min Servomotors (100 V AC)
The following graphs show the characteristics with a 3-m standard cable and 100-V AC input.
R88M-W03030L/S (30 W) R88M-W05030L/S (50 W) R88M-W10030L/S (100 W)
R88M-W20030L/S (200 W)
Repeated usage
Continuous usage
Repeated usage
Continuous usage
Repeated usage
Continuous usage
Repeated usage
Continuous usage
Standard Models and Specifications Chapter 2

Table of Contents

Related product manuals