EasyManua.ls Logo

Omron SYSMAC C200H CPU01-E - Page 107

Omron SYSMAC C200H CPU01-E
172 pages
Print Icon
To Next Page IconTo Next Page
To Next Page IconTo Next Page
To Previous Page IconTo Previous Page
To Previous Page IconTo Previous Page
Loading...
Appendix BSpecifications
93
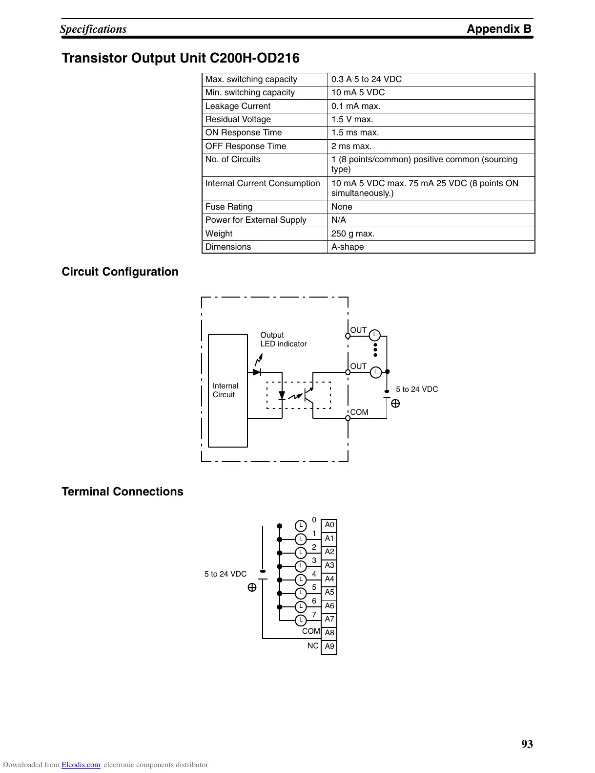
Transistor Output Unit C200H-OD216
Max. switching capacity 0.3 A 5 to 24 VDC
Min. switching capacity 10 mA 5 VDC
Leakage Current 0.1 mA max.
Residual Voltage 1.5 V max.
ON Response Time 1.5 ms max.
OFF Response Time 2 ms max.
No. of Circuits 1 (8 points/common) positive common (sourcing
type)
Internal Current Consumption 10 mA 5 VDC max. 75 mA 25 VDC (8 points ON
simultaneously.)
Fuse Rating None
Power for External Supply N/A
Weight 250 g max.
Dimensions A-shape
Circuit Configuration
Output
LED
indicator
OUT
OUT
COM
Internal
Circuit
5 to 24 VDC
L
L
Terminal Connections
A0
A1
A2
A3
A4
A5
A6
A7
A8
A9
0
1
2
3
4
5
6
7
COM
5
to 24 VDC
NC
L
L
L
L
L
L
L
L
Downloaded from Elcodis.com electronic components distributor
All manuals and user guides at all-guides.com

Related product manuals