EasyManua.ls Logo

Omron SYSMAC C200H - Page 142

Omron SYSMAC C200H
188 pages
Print Icon
To Next Page IconTo Next Page
To Next Page IconTo Next Page
To Previous Page IconTo Previous Page
To Previous Page IconTo Previous Page
Loading...
Appendix BSpecifications
135
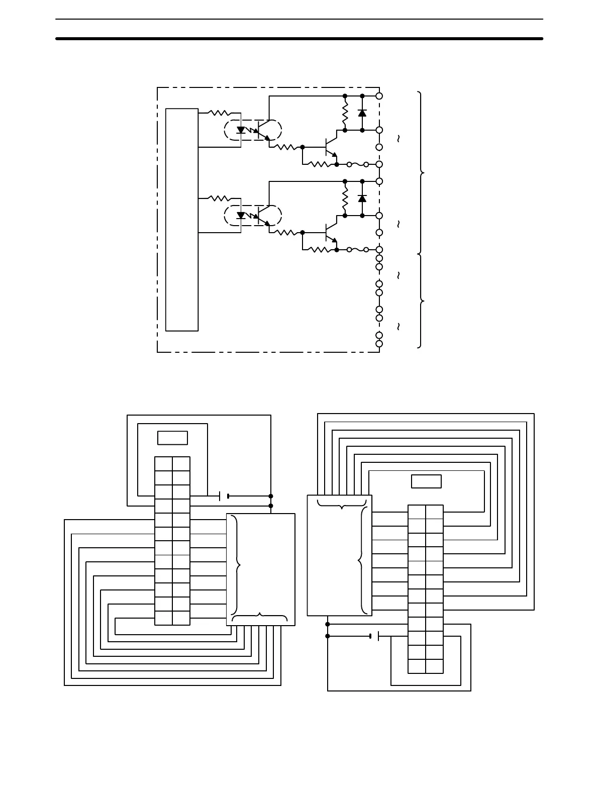
Circuit Configuration
DATA00
DATA07
COM0
CN1
STB00
STB07
COM1
Internal
circuit
5 VDC
5 VDC
Fuse
4.7 k
Fuse
4.7 k
DATA08
DATA15
COM2
STB08
STB15
COM3
5 VDC
5 VDC
CN2
Terminal Connections
B
1
2
3
4
5
6
7
8
9
DATA0
DATA1
DATA2
DATA3
DATA4
DATA5
DATA6
DATA7
COM0
+V1 10
NC
11
+V0
NC
STB0
STB1
STB2
STB3
STB4
STB5
STB6
STB7
COM1
NC
12
A
1
2
3
4
5
6
7
8
9
10
11
12
NC
5 VDC
+
CN1
B
1
2
3
4
5
6
7
8
9
DATA8
DATA9
DATA10
DATA11
DATA12
DATA13
DATA14
DATA15
COM2
+V3
10
NC
11
+V2
NC
STB8
STB9
STB10
STB11
STB12
STB13
STB14
STB15
COM3
NC
12
A
1
2
3
4
5
6
7
8
9
10
11
12
NC
+
5 VDC
CN2
Output device
(such as a nu-
meric display)
Data
input
Strobe
input
Output device
(such as a nu-
meric display)
Data
input
Strobe
input
Note 1. Refer to the Units Operation Manual for details on I/O bit allocation.
2. The Unit will have 128 dynamic output points when pin 1 of its DIP switch is ON.
Artisan Technology Group - Quality Instrumentation ... Guaranteed | (888) 88-SOURCE | www.artisantg.com

Other manuals for Omron SYSMAC C200H

Related product manuals