EasyManua.ls Logo

Omron VARISPEED F7 - Page 188

Omron VARISPEED F7
367 pages
Print Icon
To Next Page IconTo Next Page
To Next Page IconTo Next Page
To Previous Page IconTo Previous Page
To Previous Page IconTo Previous Page
Loading...
6-15
6
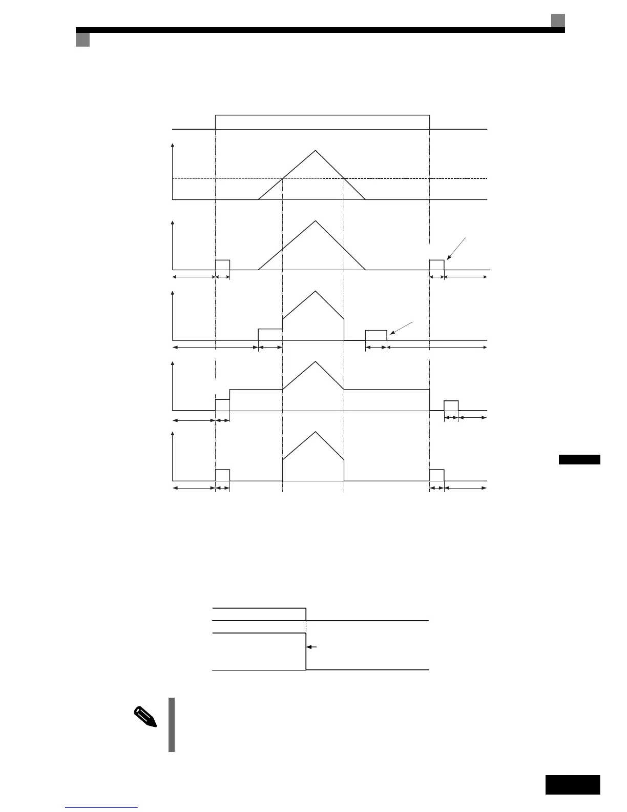
Lorsque le contrôle vectoriel en boucle fermée est sélectionné, la méthode d’arrêt dépend du paramétrage de
b1-05.
Fig. 6.16 Décélération en vue d’un arrêt pour le contrôle vectoriel en boucle fermée
Arrêt par inertie (b1-03 = 1)
Lorsque b1-03 est paramétré sur 1 et que la commande d’exécution est désactivée, la sortie du variateur est
immédiatement interrompue et le moteur s’arrête par inertie. Le temps jusqu’à l’arrêt du moteur dépend
de l’inertie et de la charge.
Fig. 6.17 Arrêt par inertie
INFO
Une fois la commande d’arrêt entrée, les commandes d’exécution sont ignorées jusqu’à ce que
le temps min. d’étage de sortie bloqué (L2-03) soit écoulé.
RUN
OFF ON
Référence
de fréquence
analogique
0
E1-09
b1-05=0
Fonctionne à
laréférence
de fréquence
Excitation initiale
Étage de
sortie bloqué
Contrôle de
vitesse zéro
Étage de sortie bloqué
La commande Run se désactive
et le contrôle de vitesse zéro
démarre lorsque le retour vitesse
chute en dessous de b2-01.
b2-03 b2-04
b1-05=1
Arrêt par inertie
Étage de sortie bloqué b2-03 b2-04 Étage de sortie bloqué
Excitation initiale
Contrôle de
vitesse zéro
La référence de fréquence chute
en-dessous de la valeur indiquée dans
E1-09 et le contrôle de vitesse zéro
démarre lorsque le retour vitesse
chute en-dessous de b2-01.
b1-05=2
Fonctionne à la
fréquence
minimum E1-09
Étage de
sortie bloqué
b2-03
Excitation
initiale
La commande Run se désactive
et le contrôle de vitesse zéro
démarre lorsque le retour vitesse
chute en dessous de b2-01.
La commande Run se désactive
et le contrôle de vitesse zéro
démarre lorsque le retour vitesse
chute en dessous de b2-01.
Contrôle de
vitesse zéro
Contrôle de
vitesse zéro
b2-04
Étage de sortie bloqué
Étage de sortie bloqué b2-03
b2-04
Étage de sortie bloqué
Excitation initiale
b1-05=3
Fonctionnement à
vitesse zéro
f
réf
f
out
f
out
f
out
f
out
ON OFF
Commande d’exécution
Fréquence de sortie
Fréquence de sortie du variateur interrompue

Table of Contents

Other manuals for Omron VARISPEED F7

Related product manuals